授权公布号:CN209419390U
电机外壳以及雨刮电机
有效
申请
2018-12-11
申请公布
1970-01-01
授权
2019-09-20
预估到期
2028-12-11
| 申请号 | CN201822070406.3 |
| 申请日 | 2018-12-11 |
| 授权公布号 | CN209419390U |
| 授权公告日 | 2019-09-20 |
| 分类号 | H02K7/116;H02K5/10;B60S1/08 |
| 分类 | 发电、变电或配电; |
| 申请人名称 | 飞鹏车辆配件有限公司 |
| 申请人地址 | 浙江省温州市平阳县万全镇孙楼工业区 |
专利法律状态
2019-09-20
授权
状态信息
授权
摘要
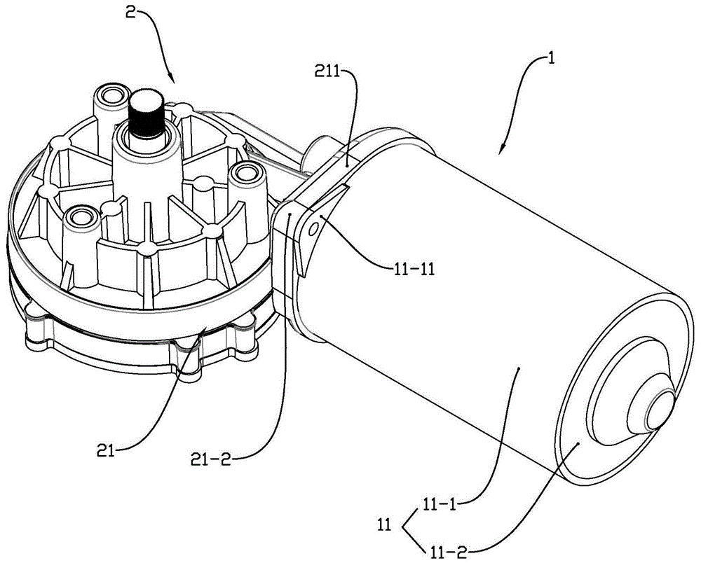
本实用新型涉及一种电机外壳以及雨刮电机,包括筒状主体、尾盖以及减速器壳体,尾盖和减速器壳体分别盖设于筒状主体两端口上,所述的筒状主体为整体成型的无缝钢管,所述尾盖嵌装于筒状主体尾端端口内且尾盖周向边缘无缝焊接固定于筒状主体上。具有密封性好,减少电磁泄漏以及加工方便的优点。


