授权公布号:CN219402108U
一种用于矿井支护金属网编制的装置
有效
申请
2022-11-08
申请公布
1970-01-01
授权
2023-07-25
预估到期
2032-11-08
| 申请号 | CN202222964610.6 |
| 申请日 | 2022-11-08 |
| 授权公布号 | CN219402108U |
| 授权公告日 | 2023-07-25 |
| 分类号 | B21F27/00 |
| 分类 | 基本上无切削的金属机械加工;金属冲压; |
| 申请人名称 | 西山煤电(集团)有限责任公司 |
| 申请人地址 | 山西省太原市万柏林区西矿街335号 |
专利法律状态
2023-07-25
授权
状态信息
授权
摘要
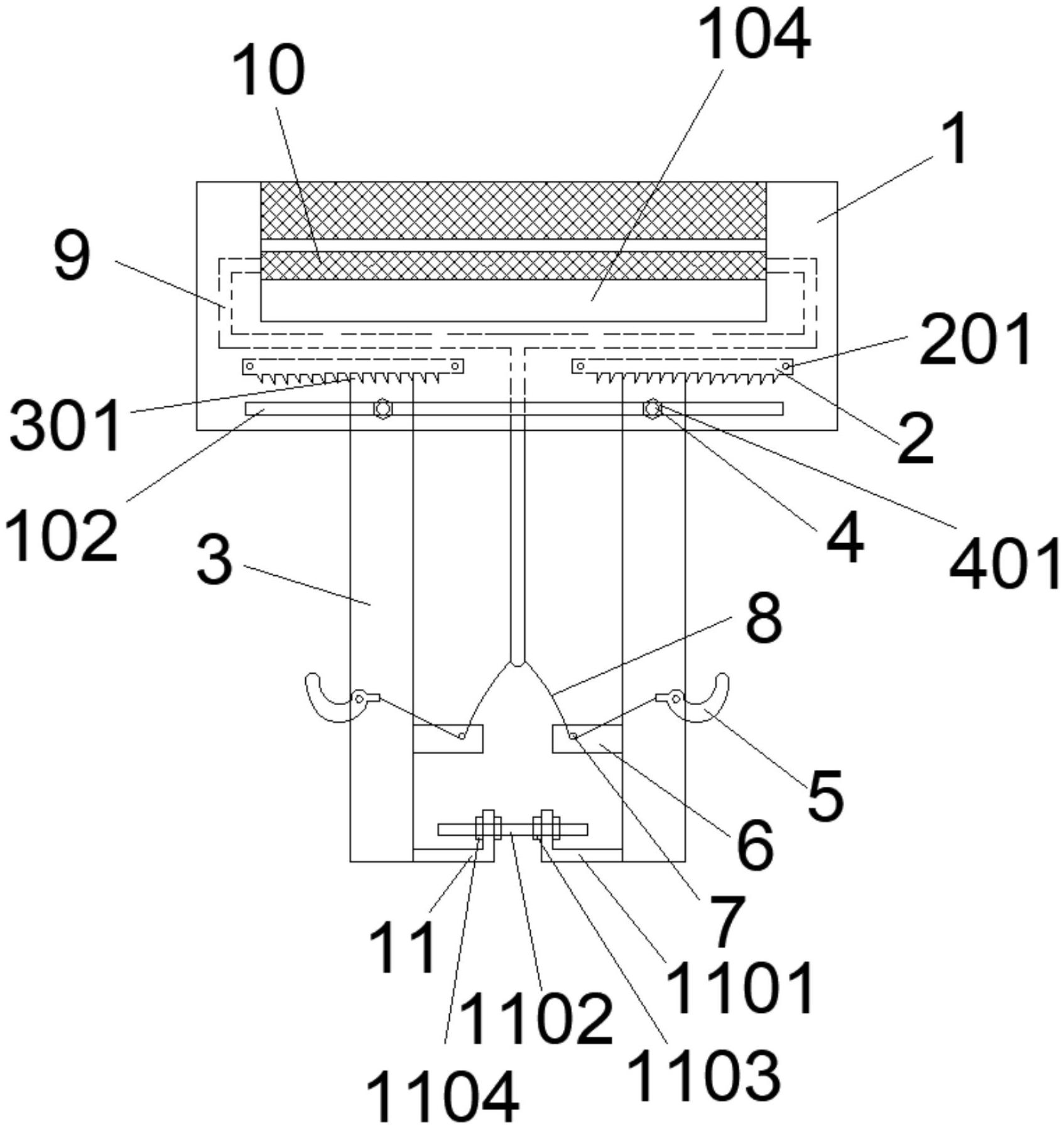
本实用新型公开了一种用于矿井支护金属网编制的装置,包括呈方环形结构设置的握把,所述握把内部为中空结构,所述握把下部形成有开口滑槽,所述握把内形成有与开口滑槽对应的两个锯齿卡位条,所述开口滑槽下部对应设置有两个用于调节金属网网孔宽度的网孔调节板,所述网孔调节板上部形成有与锯齿卡位条对应的锯齿结构,所述握把侧面设置有与所述网孔调节板对应的长条形滑槽二,所述网孔调节板、握把通过螺纹柱一固定,所述网孔调节板的外侧面铰接设置有挂钩,本实用新型结构简单,能够在金属网编制时对网孔大小进行检查和调整,从而更好的提高金属网的支护性能。


