授权公布号:CN114987623B
一种用于车辆的立柱
有效
申请
2021-03-02
申请公布
2022-09-02
授权
2023-04-21
预估到期
2041-03-02
| 申请号 | CN202110230074.4 |
| 申请日 | 2021-03-02 |
| 申请公布号 | CN114987623A |
| 申请公布日 | 2022-09-02 |
| 授权公布号 | CN114987623B |
| 授权公告日 | 2023-04-21 |
| 分类号 | B62D25/04;B60R11/04;H04N23/51;G08B21/06 |
| 分类 | 无轨陆用车辆; |
| 申请人名称 | 本田技研工业(中国)投资有限公司 |
| 申请人地址 | 北京市朝阳区东三环北路5号北京发展大厦3层301-313室、318-319室、321室 |
专利法律状态
2023-04-21
授权
状态信息
授权
2022-09-20
实质审查的生效
状态信息
实质审查的生效;IPC(主分类):B62D25/04;申请日:20210302
2022-09-02
公布
状态信息
公布
摘要
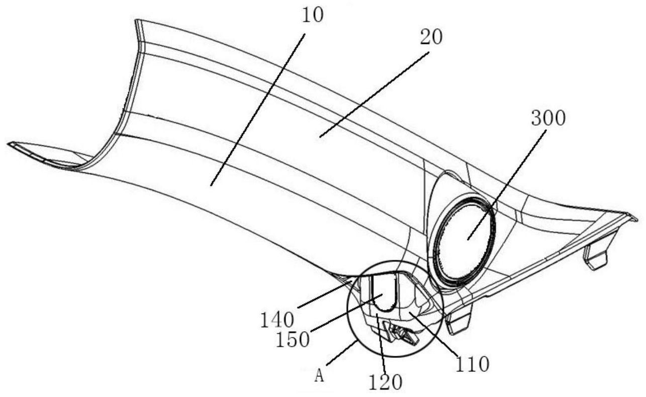
本发明公开了一种用于车辆的立柱,包括:立柱本体、立柱壳体、摄像头总成、由立柱本体或立柱壳体形成的第一侧面和第二侧面,以及至少一部分由第一侧面和第二侧面围设形成的空腔。第一侧面比第二侧面更靠近车长方向的后方,且第一侧面面向车辆后方,第一侧面和所述第二侧面邻接设置,并且第一侧面上设有可视部,摄像头总成设置在空腔内,摄像头总成的摄像头面向可视部设置。本发明通过第一侧面上设置可视部,并且摄像头总成的摄像头面向可视部设置,既可以全面地监测车内用户的状态,又能更好地保护车内用户的视野不受影响。此外,由于整个摄像头总成是设置在立柱的空腔内,有效利用了立柱内的空间,提高了立柱的外观性与商品性。


