授权公布号:CN219009025U
矿用皮带挂网保护装置
有效
申请
2022-12-07
申请公布
1970-01-01
授权
2023-05-12
预估到期
2032-12-07
| 申请号 | CN202223264984.3 |
| 申请日 | 2022-12-07 |
| 授权公布号 | CN219009025U |
| 授权公告日 | 2023-05-12 |
| 分类号 | B65G43/00;B65G41/00 |
| 分类 | 输送;包装;贮存;搬运薄的或细丝状材料; |
| 申请人名称 | 西山煤电(集团)有限责任公司 |
| 申请人地址 | 山西省太原市万柏林区西矿街335号 |
专利法律状态
2023-05-12
授权
状态信息
授权
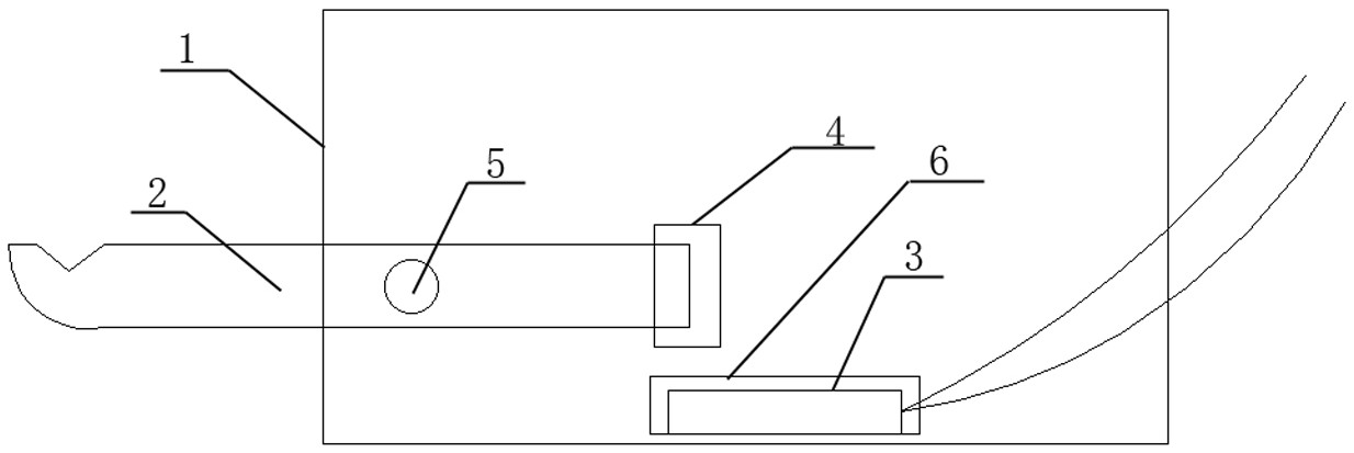
摘要
本实用新型涉及皮带输送机的辅助保护装置,具体为矿用皮带挂网保护装置。矿用皮带挂网保护装置,包括盒体、挂钩、干簧管磁控开关和永磁铁,盒体内底板上设置干簧管磁控开关,干簧管磁控开关的常开触点从盒体引出并接至皮带急停闭锁线路上,挂钩的中部转动设置在盒体内,挂钩的底端从盒体的一侧伸出盒体,挂钩的顶端固定永磁铁,永磁体在干簧管磁控开关的上方。本装置将挂网与急停闭锁连接,摘网与闭锁皮带同时动作,杜绝在皮带运行时因摘网导致伤人事故的发生,极大的提高了安全生产效率。


