授权公布号:CN216395141U
一种跳绳握把
有效
申请
2021-11-02
申请公布
1970-01-01
授权
2022-04-29
预估到期
2031-11-02
| 申请号 | CN202122657300.5 |
| 申请日 | 2021-11-02 |
| 授权公布号 | CN216395141U |
| 授权公告日 | 2022-04-29 |
| 分类号 | A63B5/20 |
| 分类 | 运动;游戏;娱乐活动; |
| 申请人名称 | 福建新代实业有限公司 |
| 申请人地址 | 福建省福州市仓山区盖山镇北园村双湖路8号 |
专利法律状态
2022-04-29
授权
状态信息
授权
摘要
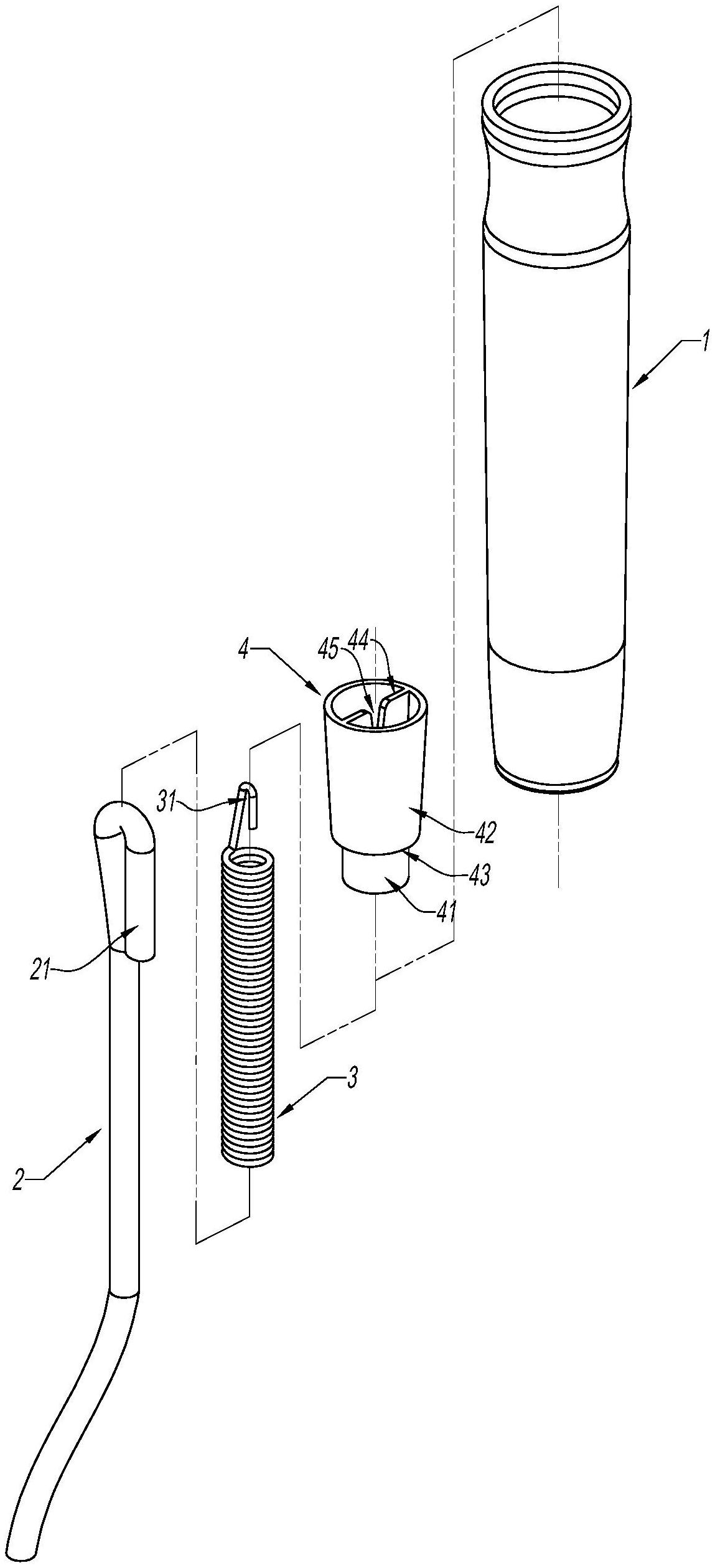
本实用新型涉及一种跳绳握把,包括本体、绳索、钢丝护套和锥座,其中:本体的端部具有束口环,能约束锥座脱出;所述锥座为两段式结构,包括柱管和锥套,连接处形成一台阶部,装配到位所述柱管穿过本体的束口环,台阶部抵触在本体的束口环内侧,形成可旋转配合;所述锥套内连体成型有隔板,隔板上沿具有V形定位槽;所述钢丝护套为柱形结构,上端延伸出一挂钩,钢丝护套从锥座的柱管穿过,借助挂钩悬挂在所述隔板的V形定位槽中;所述绳索从钢丝护套下端穿入并穿过锥座,露出的绳索端部绕过所述隔板再倒折回锥套中,形成系定结构。本实用新型具有结构设计合理、零件少、装配简单、旋转自如、防脱防磨损的特点。


