授权公布号:CN213130839U
一种中药粉润湿机
有效
申请
2020-05-06
申请公布
1970-01-01
授权
2021-05-07
预估到期
2030-05-06
| 申请号 | CN202020727186.1 |
| 申请日 | 2020-05-06 |
| 授权公布号 | CN213130839U |
| 授权公告日 | 2021-05-07 |
| 分类号 | A61J3/00 |
| 分类 | 医学或兽医学;卫生学; |
| 申请人名称 | 浙江圣华药业有限公司 |
| 申请人地址 | 浙江省丽水市缙云县新建镇工业区 |
专利法律状态
2021-05-07
授权
状态信息
授权
摘要
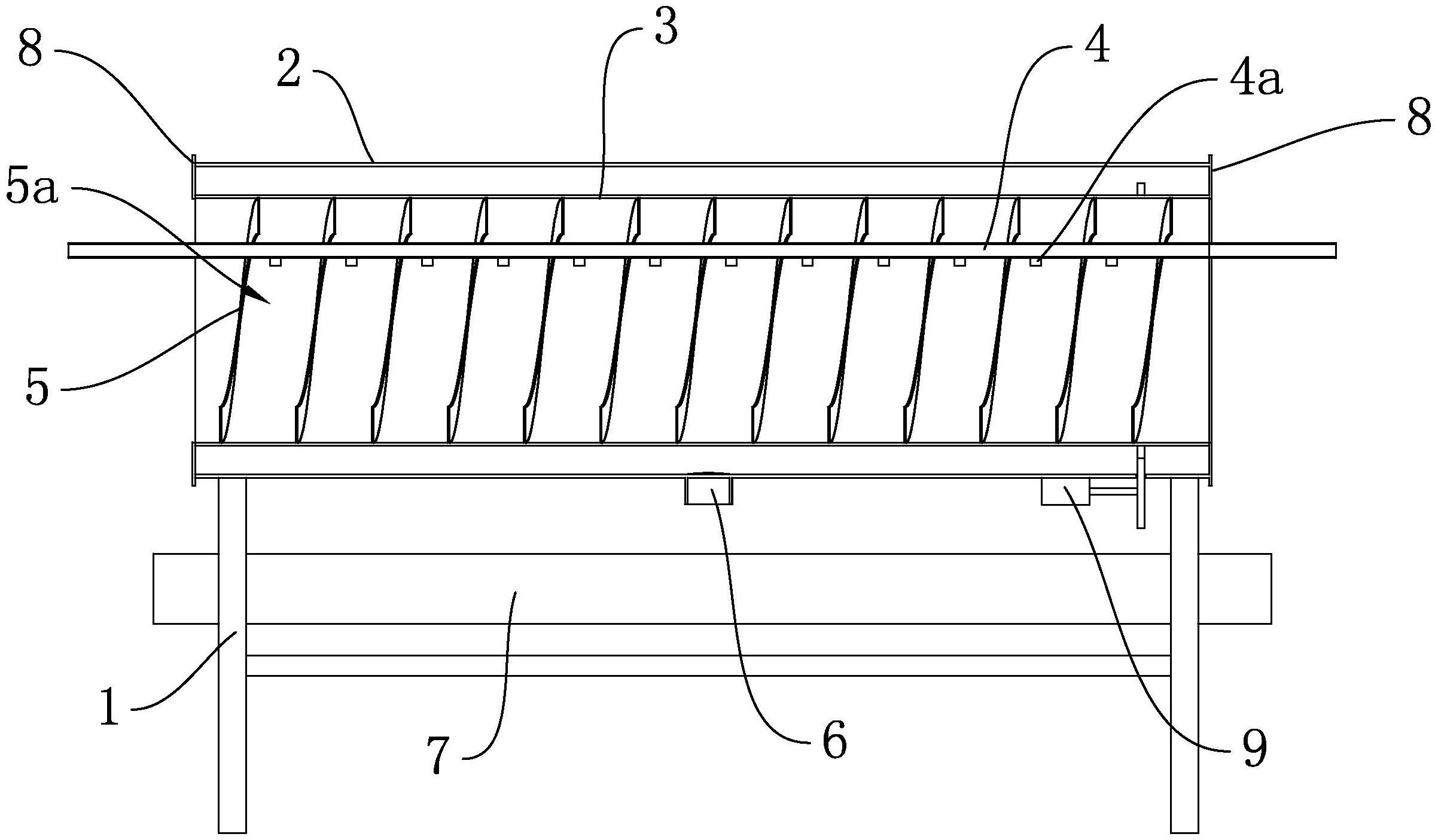
本实用新型提供了一种中药粉润湿机,属于机械技术领域。一种中药粉润湿机,包括底座,外筒,外筒固定在底座上,转筒,转筒转动设置在外筒内,转筒内部具螺纹状的内挡板,内挡板限定出供药材放置的通道;喷淋管,喷淋管固定在底座上且该喷淋管穿过转筒;和驱动组件,驱动组件设置在底座上且该驱动组件用于驱动并使转筒匀速转动。本实用新型具有药材浸润均匀的优点。


