授权公布号:CN216791889U
一种新能源电池生产用穿刺测试装置
有效
申请
2021-12-31
申请公布
1970-01-01
授权
2022-06-21
预估到期
2031-12-31
| 申请号 | CN202123438340.7 |
| 申请日 | 2021-12-31 |
| 授权公布号 | CN216791889U |
| 授权公告日 | 2022-06-21 |
| 分类号 | G01N3/12;G01N3/02 |
| 分类 | 测量;测试; |
| 申请人名称 | 北京中职北方教育科技有限公司 |
| 申请人地址 | 北京市海淀区三里河路17号7层708 |
专利法律状态
2022-06-21
授权
状态信息
授权
摘要
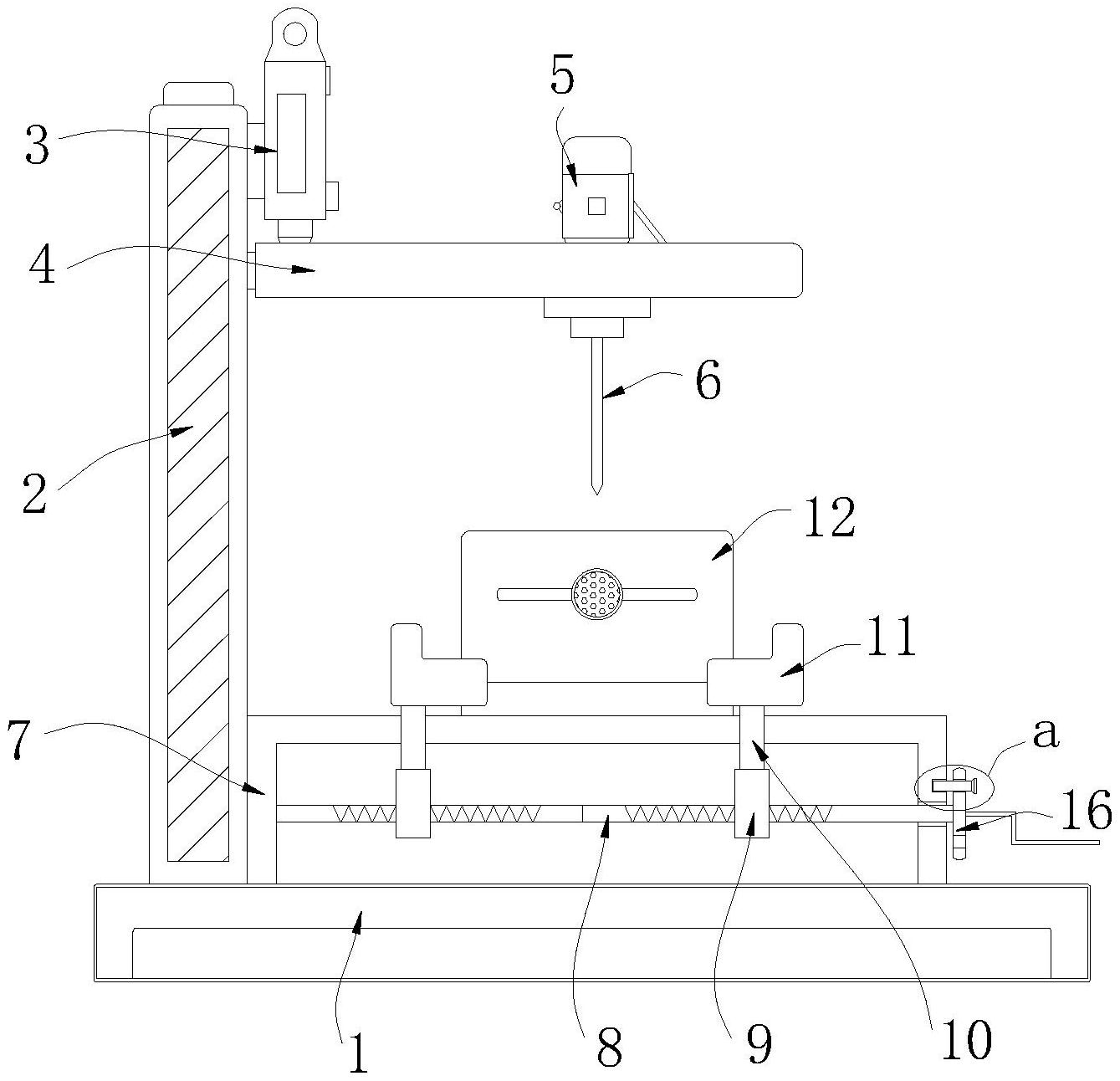
本实用新型公开了一种新能源电池生产用穿刺测试装置,主要由底座、竖板、液压缸和驱动电机构成,且竖板固定在底座上,并且竖板的内壁上螺栓安装有液压缸,同时液压缸的输出端和横板相连接,而且横板上螺栓固定有驱动电机;包括:钻针,其与所述驱动电机的输出端相连接;放置板,其设置在所述底座上,所述限位板的后侧设置有挡板。该新能源电池生产用穿刺测试装置,放置板的内部设置有螺纹杆,且螺纹杆和固定板之间为螺纹连接,并且螺纹杆左右两端的螺纹旋向相反,同时固定板通过连接板和限位板相连接,当螺纹杆转动时,可以带动连接板和限位板一起移动,从而便于对新能源电池进行快速限位固定,保证电池后期测试时的稳定性。


