授权公布号:CN216646579U
一种用于新能源汽车电池生产的质量检测装置
有效
申请
2021-12-24
申请公布
1970-01-01
授权
2022-05-31
预估到期
2031-12-24
| 申请号 | CN202123285171.8 |
| 申请日 | 2021-12-24 |
| 授权公布号 | CN216646579U |
| 授权公告日 | 2022-05-31 |
| 分类号 | G01R1/04;G01R31/382;H05K7/20;F16J15/06 |
| 分类 | 测量;测试; |
| 申请人名称 | 北京中职北方教育科技有限公司 |
| 申请人地址 | 北京市海淀区三里河路17号7层708 |
专利法律状态
2022-05-31
授权
状态信息
授权
摘要
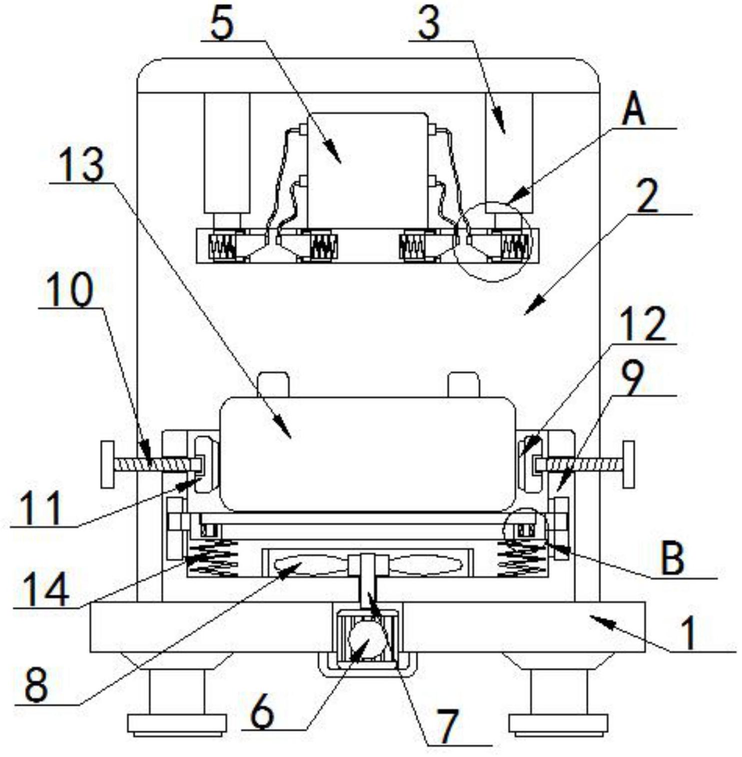
本实用新型公开了一种用于新能源汽车电池生产的质量检测装置,主要用于对新能源汽车电池的放电状态进行检测;工作台,上端安装有支撑背板,且所述支撑背板下端对称设置有2个电动伸缩杆;移动板,安装在所述电动伸缩杆的下端;包括:检测装置本体,放置在所述移动板的中间位置;电动机,放置在所述工作台的下端,且所述电动机的输出端与转动轴相互连接,并且所述转动轴通过所述工作台上安装的轴承与所述工作台构成转动机构。该用于新能源汽车电池生产的质量检测装置,通过电动伸缩杆带动移动板进行上下移动,实现对电池本体的两端进行贴合固定,不再需要人工手动固定,更加方便快捷,且电池下端设置有散热装置,从而实现对电池进行散热。


