授权公布号:CN216631694U
一种可除尘的新能源汽车电池管理用输送装置
有效
申请
2021-11-26
申请公布
1970-01-01
授权
2022-05-31
预估到期
2031-11-26
| 申请号 | CN202122933370.9 |
| 申请日 | 2021-11-26 |
| 授权公布号 | CN216631694U |
| 授权公告日 | 2022-05-31 |
| 分类号 | B08B1/00;B08B5/02;B08B13/00 |
| 分类 | 清洁; |
| 申请人名称 | 北京中职北方教育科技有限公司 |
| 申请人地址 | 北京市海淀区三里河路17号7层708 |
专利法律状态
2022-05-31
授权
状态信息
授权
摘要
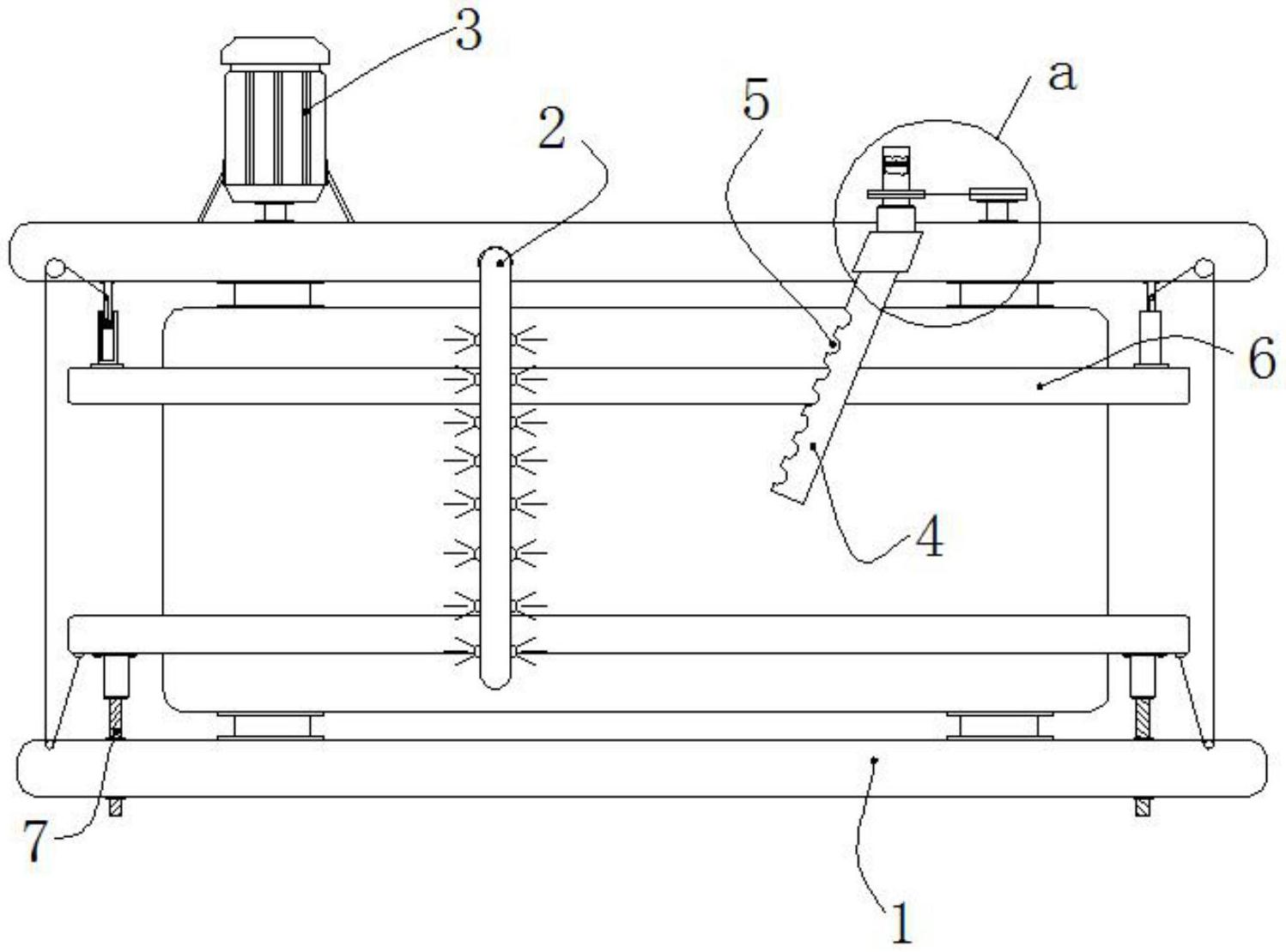
本实用新型公开了一种可除尘的新能源汽车电池管理用输送装置,通过运输装置工作带动电池进行移动;刷子,固定在所述运输装置的上方,所述运输装置的后侧左方设置有使运输装置运行的电机;包括:通管,设置在所述运输装置的上方,所述通管的后侧设置有对灰尘进行吸附的风扇;螺纹杆,轴承连接在所述运输装置的前方左侧内部,所述螺纹杆的一端螺纹连接有对电池进进行限位的限位板;连接杆,固定在所述运输装置的后方左侧内部。该可除尘的新能源汽车电池管理用输送装置,安装有刷子和风扇,通过风扇的转动和刷子的设置共同实现对灰尘的处理,避免灰尘掉落在电池的内部,防止电池出现异响,不需要人工进行处理,减少时间的消耗。


