授权公布号:CN216794128U
一种具有防脱落功能的新能源汽车用充电插头
有效
申请
2021-12-20
申请公布
1970-01-01
授权
2022-06-21
预估到期
2031-12-20
| 申请号 | CN202123211297.0 |
| 申请日 | 2021-12-20 |
| 授权公布号 | CN216794128U |
| 授权公告日 | 2022-06-21 |
| 分类号 | H01R13/639;H01R13/629;H01R13/627;B60L53/16;B60L53/31 |
| 分类 | 基本电气元件; |
| 申请人名称 | 北京中职北方教育科技有限公司 |
| 申请人地址 | 北京市海淀区三里河路17号7层708 |
专利法律状态
2022-06-21
授权
状态信息
授权
摘要
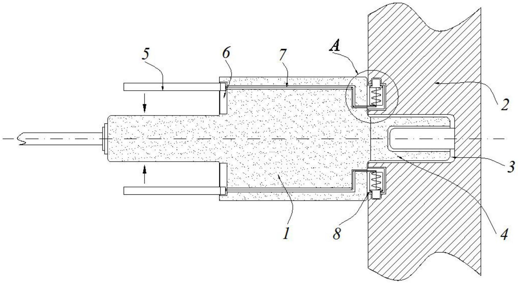
本实用新型公开了一种具有防脱落功能的新能源汽车用充电插头,外壳本体,其右端固定有插头机构和凸块,且凸块分布在插头机构的外侧四周;充电桩本体,其左侧面内部开设有插槽,且插槽的内部插入有插头机构;包括:所述外壳本体的右侧卡合连接有充电桩本体,且充电桩本体的左侧面内部开设有定位孔和定位槽;外壳本体,其左端与线缆相连接,且外壳本体的左端直径小于外壳本体的右端直径。该具有防脱落功能的新能源汽车用充电插头设置有凸块和定位块,通过凸块卡合在定位孔内,同时通过定位块插入到对应的定位槽内,继而便于外壳本体稳定的与充电桩本体进行卡合连接,提高了连接的稳固性,从而避免意外脱落而影响使用。


