授权公布号:CN216784154U
一种用于新能源汽车电池回收的堆叠装置
有效
申请
2021-11-23
申请公布
1970-01-01
授权
2022-06-21
预估到期
2031-11-23
| 申请号 | CN202122878455.1 |
| 申请日 | 2021-11-23 |
| 授权公布号 | CN216784154U |
| 授权公告日 | 2022-06-21 |
| 分类号 | B65D6/08;B65D25/02;B65D85/88 |
| 分类 | 输送;包装;贮存;搬运薄的或细丝状材料; |
| 申请人名称 | 北京中职北方教育科技有限公司 |
| 申请人地址 | 北京市海淀区三里河路17号7层708 |
专利法律状态
2022-06-21
授权
状态信息
授权
摘要
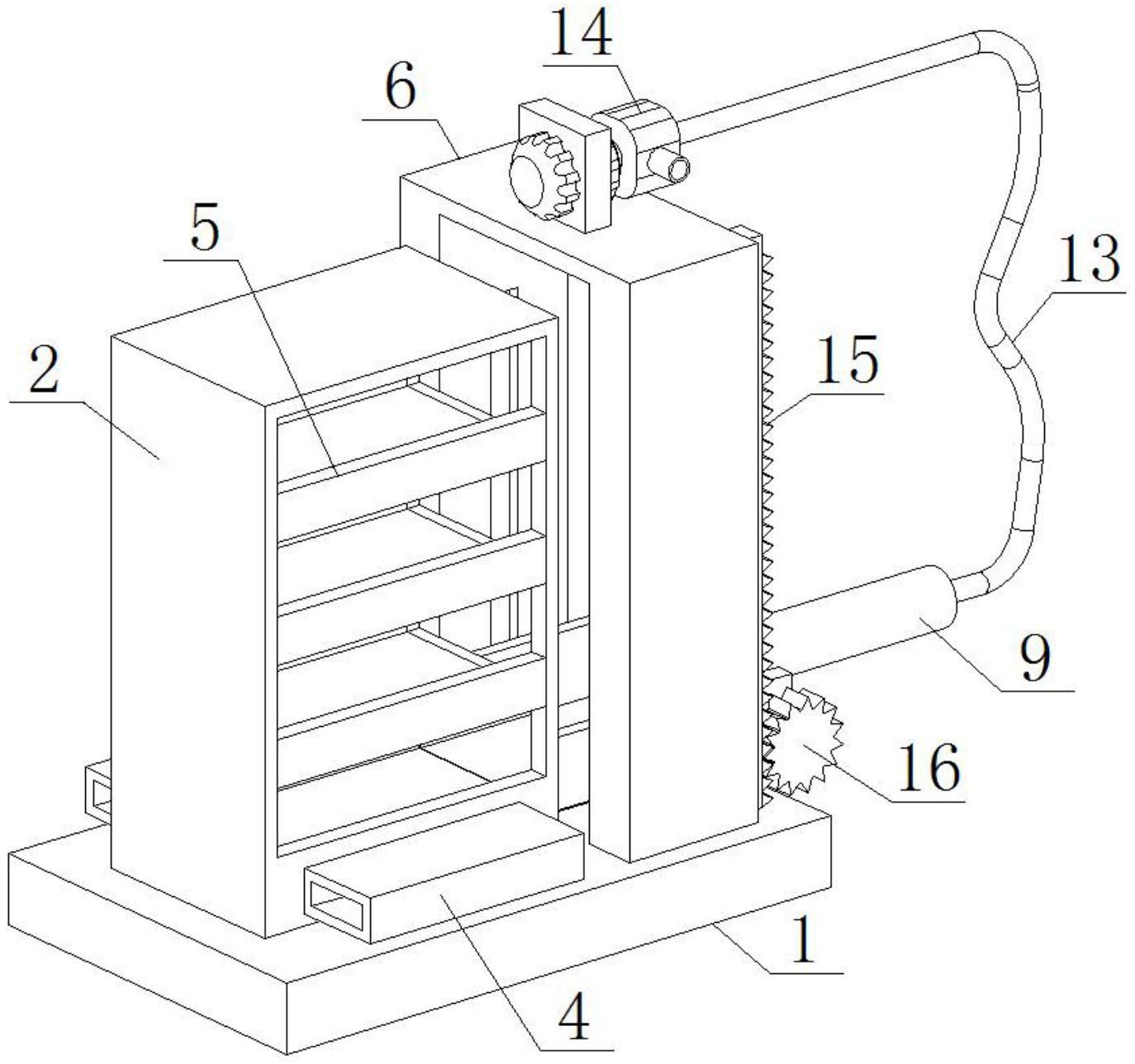
本实用新型公开了一种用于新能源汽车电池回收的堆叠装置,包括:底座,其顶部贴合设置有堆叠架,所述堆叠架的底部对称安装有定位块,且定位块滑动嵌设在所述底座顶部的凹槽内构成堆叠架的限位结构;还包括:受力块,其对称安装在所述堆叠架的侧壁底部,且2个受力块水平设置,所述堆叠架的边侧设置有支撑架,且支撑架垂直安装在所述底座的上表面;气泵,其固定连接在所述支撑架的顶部,且支撑架的侧壁上固定安装有竖直设置的齿板。该用于新能源汽车电池回收的堆叠装置,其设置有自动堆叠结构,不需要使用者手动搬运汽车电池,能够自动将电池移动到指定位置,降低了劳动强度,有效提高了工作效率。


