授权公布号:CN217214931U
一种新能源汽车电池转运用减震定位装置
有效
申请
2021-12-28
申请公布
1970-01-01
授权
2022-08-16
预估到期
2031-12-28
| 申请号 | CN202123336836.3 |
| 申请日 | 2021-12-28 |
| 授权公布号 | CN217214931U |
| 授权公告日 | 2022-08-16 |
| 分类号 | H01M50/242;F16F15/023;F16F15/04;F16F15/06 |
| 分类 | 基本电气元件; |
| 申请人名称 | 北京中职北方教育科技有限公司 |
| 申请人地址 | 北京市海淀区三里河路17号7层708 |
专利法律状态
2022-08-16
授权
状态信息
授权
摘要
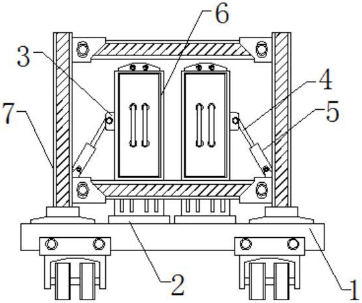
本实用新型公开了一种新能源汽车电池转运用减震定位装置,装置基座,其正上方开设有箱体凹槽,所述夹持力臂的底部螺纹连接有双向丝杆,铰接座,其一侧轴贯穿连接有a减震支杆,且a减震支杆的底部嵌套连接有b减震支杆,包括:储存箱体,其安装在箱体凹槽的内部,且箱体凹槽内部设置有夹持力臂,所述夹持力臂的外侧嵌套连接有磁吸力柱,且磁吸力柱的外侧螺纹连接有电磁铁块;横梁支架,其焊接固定在装置基座的顶部。该新能源汽车电池转运用减震定位装置;采用夹持力臂及导向滑杆,利用双向丝杆对夹持力臂进行螺纹连接,根据装置的尺寸对两组夹持力臂之间的距离进行调节,利用夹持力臂对储存箱体的左右两侧进行夹持固定。


