授权公布号:CN218509909U
汽车变速箱用集成式换挡定位销
有效
申请
2021-11-08
申请公布
1970-01-01
授权
2023-02-21
预估到期
2031-11-08
| 申请号 | CN202122721643.3 |
| 申请日 | 2021-11-08 |
| 授权公布号 | CN218509909U |
| 授权公告日 | 2023-02-21 |
| 分类号 | F16B19/02 |
| 分类 | 工程元件或部件;为产生和保持机器或设备的有效运行的一般措施;一般绝热; |
| 申请人名称 | 常州光洋轴承股份有限公司 |
| 申请人地址 | 江苏省常州市新北区汉江路52号 |
专利法律状态
2023-02-21
授权
状态信息
授权
摘要
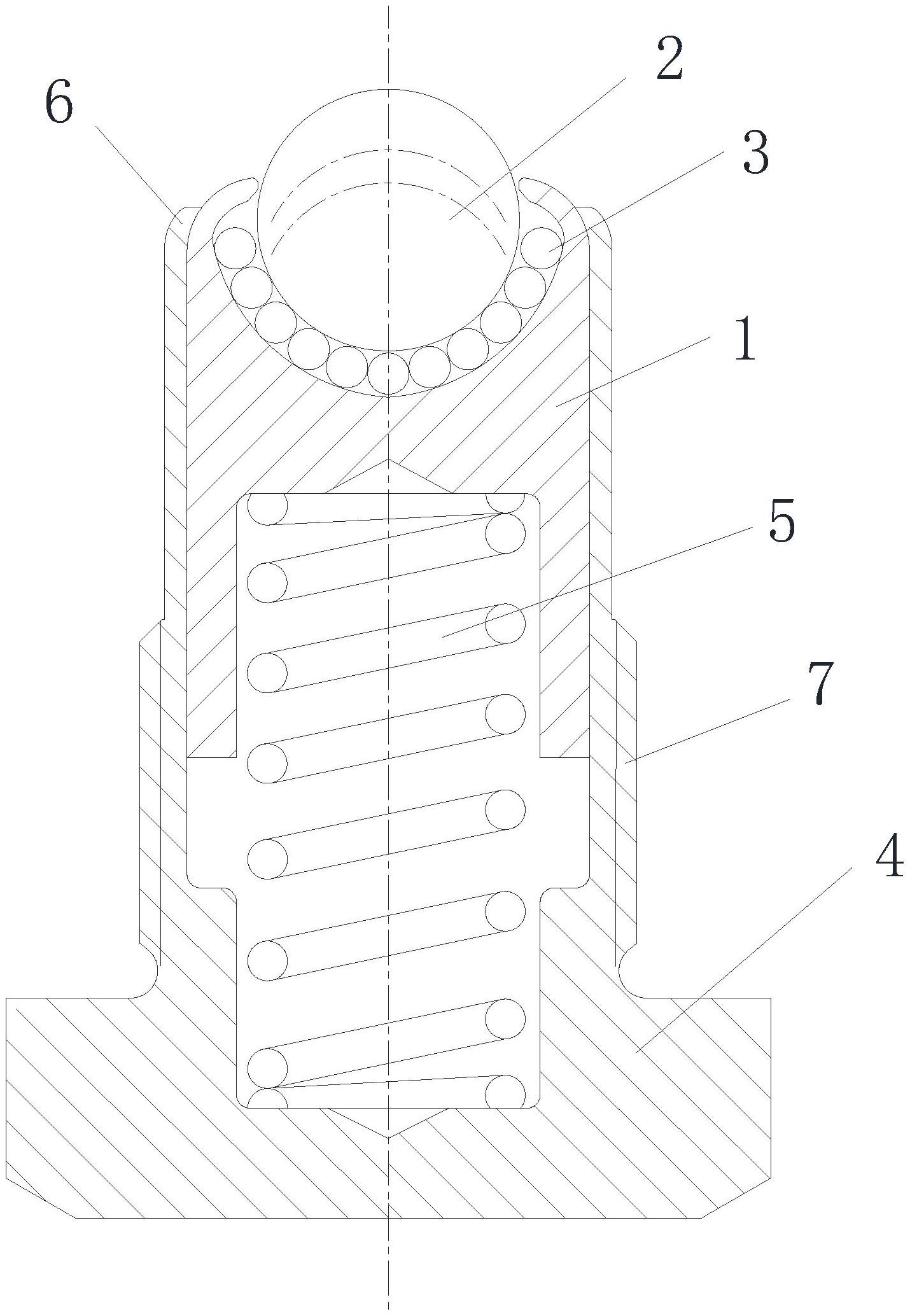
本实用新型涉及一种汽车变速箱用集成式换挡定位销,包括换挡定位销本体,所述换挡定位销本体一端开设有半球状球窝,所述球窝内设置有滚珠及滚球,换挡定位销本体另一端开设有盲孔,所述换挡定位销本体外套设有套体,所述套体内具有中空内腔,所述换挡定位销本体设置在中空内腔内,中空内腔内设置有弹簧,弹簧一端伸入换挡定位销本体的盲孔内,套体顶端具有能够防止换挡定位销本体从中空内腔内脱出的包边。本实用新型将单体定位销、弹簧、套体(原堵头)集成在一起,套体一直延伸到定位销圆角处,将定位销和弹簧固定于套体内,客户装配时只需要将集成式定位销安装入箱体孔即可,安装步骤简单,避免零件漏装,且安装效率较高。


