授权公布号:CN103935693B
电动提升料盒自开门上料机
有效
申请
2013-11-19
申请公布
2014-07-23
授权
2016-07-27
预估到期
2033-11-19
| 申请号 | CN201310579127.9 |
| 申请日 | 2013-11-19 |
| 申请公布号 | CN103935693A |
| 申请公布日 | 2014-07-23 |
| 授权公布号 | CN103935693B |
| 授权公告日 | 2016-07-27 |
| 分类号 | B65G17/12;B65G17/38;B66F19/00 |
| 分类 | 输送;包装;贮存;搬运薄的或细丝状材料; |
| 申请人名称 | 襄阳鹰牌荣华轴承有限公司 |
| 申请人地址 | 湖北省襄樊市襄州区钻石大道特288号 |
专利法律状态
2016-07-27
授权
状态信息
授权
2014-08-20
实质审查的生效
状态信息
实质审查的生效IPC(主分类):B65G 17/12申请日:20131119
2014-07-23
公布
状态信息
公开
摘要
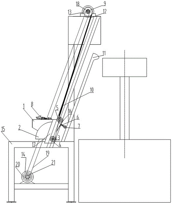
一种电动提升料盒自开门上料机,料盒一侧为出料口;料盒出料口底部两侧设有下导轮座,出料口顶部两侧设有上导轮座;下导轮座上装有下导轮,上导轮座上装有上导轮;机架上设有与上下导轮配合的两根相互平行的导轨。料盒出料口设有活动挡板;活动挡板两侧连接有置于料盒外侧用于导向的扇形板;扇形板经轴与料盒两下导轮座连接。活动挡板外壁上有引导轮,机架上有用于对引导轮导向以实现活动挡板开闭的轨道曲线板。机架顶部设有卷扬轮,钢丝绳上端缠绕于卷扬轮,下端直接或间接固定于料盒;卷扬轮与动力系统传动连接。本发明具有结构简单,可操作性强,使用性能可靠,不损伤滚子表面,降低操作人员的劳动强度,且用电量极少,节省能源。


