授权公布号:CN102910708B
工业废水电化学联合阳极处理方法
有效
申请
2012-10-31
申请公布
2013-02-06
授权
2014-11-05
预估到期
2032-10-31
| 申请号 | CN201210429747.X |
| 申请日 | 2012-10-31 |
| 申请公布号 | CN102910708A |
| 申请公布日 | 2013-02-06 |
| 授权公布号 | CN102910708B |
| 授权公告日 | 2014-11-05 |
| 分类号 | C02F1/461;C02F1/72 |
| 分类 | 水、废水、污水或污泥的处理; |
| 申请人名称 | 嘉斐科技(武汉)股份有限公司 |
| 申请人地址 | 湖北省武汉市东西湖区高桥二路188号(3) |
专利法律状态
2020-07-31
专利权人的姓名或者名称、地址的变更
状态信息
专利权人的姓名或者名称、地址的变更;IPC(主分类):C02F1/461;专利号:ZL201210429747X;变更事项:专利权人;变更前:玻尔科技(武汉)股份有限公司;变更后:嘉斐科技(武汉)股份有限公司;变更事项:地址;变更前:430040 湖北省武汉市东西湖区高桥二路188号(3);变更后:430040 湖北省武汉市东西湖区高桥二路188号(3)
2019-03-29
专利权人的姓名或者名称、地址的变更
状态信息
专利权人的姓名或者名称、地址的变更;IPC(主分类):C02F1/461;专利号:ZL201210429747X;变更事项:专利权人;变更前:武汉玻尔科技股份有限公司;变更后:玻尔科技(武汉)股份有限公司;变更事项:地址;变更前:430040 湖北省武汉市东西湖区五环大道31号;变更后:430040 湖北省武汉市东西湖区高桥二路188号(3)
2015-11-25
著录事项变更
状态信息
著录事项变更;IPC(主分类):C02F1/461;变更事项:发明人;变更前:汪璇 胡金霞 金雷 鞠文龙 江晓炯;变更后:周泳 胡金霞 金雷
2014-11-05
发明专利权授予
状态信息
授权
2013-07-17
著录事项变更
状态信息
著录事项变更;IPC(主分类):C02F1/461;变更事项:申请人;变更前:武汉玻尔科技有限公司;变更后:武汉玻尔科技股份有限公司;变更事项:地址;变更前:430040 湖北省武汉市东西湖吴家山台商投资区高桥产业园台中大道特一号;变更后:430040 湖北省武汉市东西湖区五环大道31号
2013-03-20
实质审查的生效
状态信息
实质审查的生效;IPC(主分类):C02F1/461;申请日:20121031
2013-02-06
发明专利申请公布
状态信息
公布
摘要
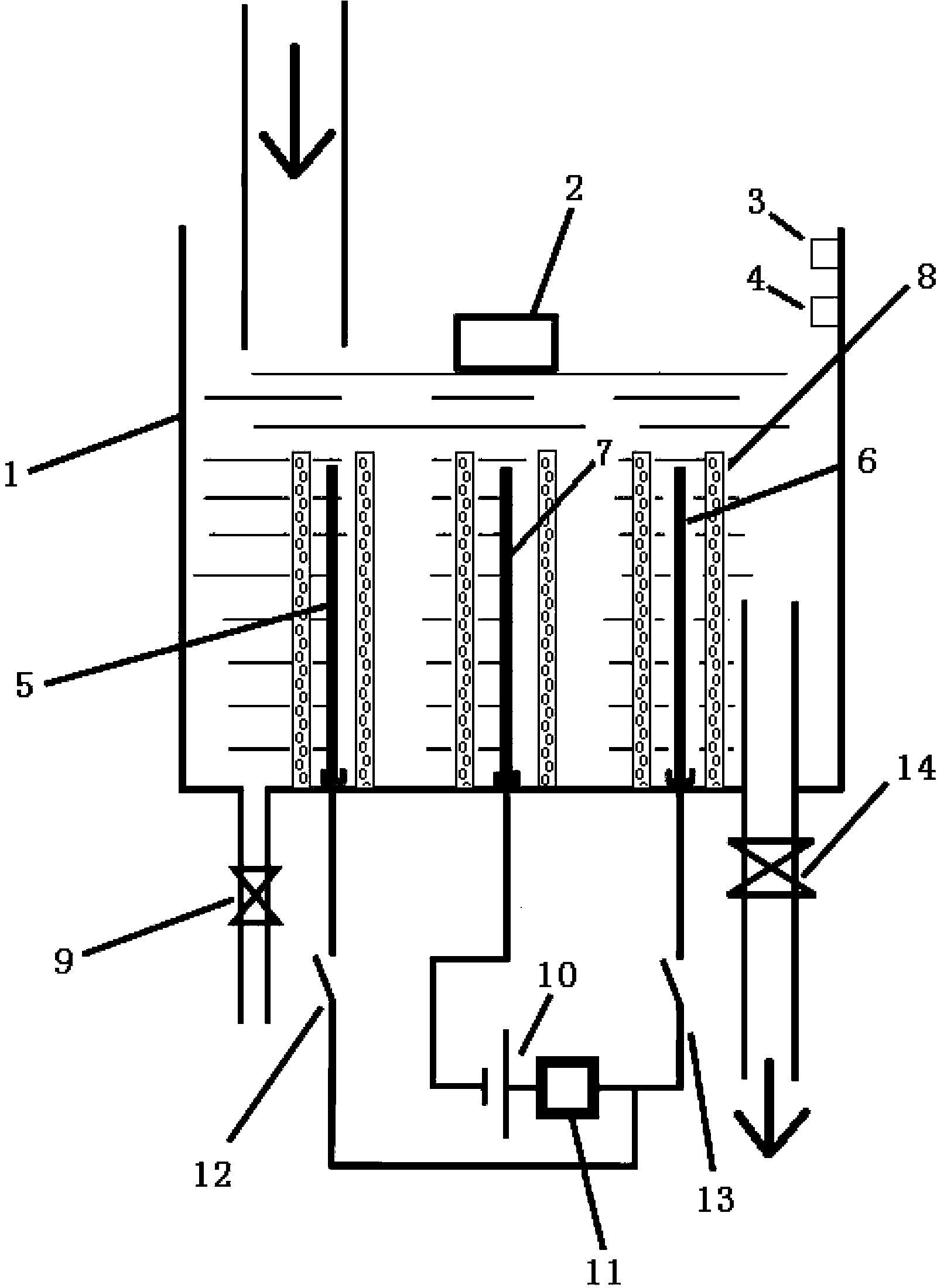
本发明工业废水电化学联合阳极处理方法,属环境保护技术领域,本发明方法是个采用铁板阴极,采用由可溶性铁板阳极和不溶性钛板阳极组成的联合阳极,所述的联合阳极由以下两种方式组成,交替工作:其一,由可溶性铁阳极和不溶性钛阳极一起通电,共同工作;其二,可溶性铁阳极和不溶性钛阳极板分别通电单独工作;在室温条件下对电化学处理槽内废水介质进行电化学氧化还原处理,使废水中的大分子难降解有机物氧化降解;使废水中金属阳离子成氢氧化物沉淀;使处理后的废水油含量降为零,COD<sub>Cr</sub>降至200mg/L以内,确保处理后的废水能达到国家相应排放标准的要求,并且本方法处理时间短、效率高,显著降低废水处理成本,节约了水资源,是一种有效可行的处理方法。<!--1-->


