授权公布号:CN218795272U
一种金属加工液生产用搅动补气装置
有效
申请
2022-09-22
申请公布
1970-01-01
授权
2023-04-07
预估到期
2032-09-22
| 申请号 | CN202222516268.3 |
| 申请日 | 2022-09-22 |
| 授权公布号 | CN218795272U |
| 授权公告日 | 2023-04-07 |
| 分类号 | B01F27/90;B01F27/231;B01F35/10;B01F35/45;B01F35/71;B01F23/80;B01F23/23;B01F33/40 |
| 分类 | 一般的物理或化学的方法或装置; |
| 申请人名称 | 嘉斐科技(武汉)股份有限公司 |
| 申请人地址 | 湖北省武汉市东西湖区高桥二路188号(3) |
专利法律状态
2023-04-07
授权
状态信息
授权
摘要
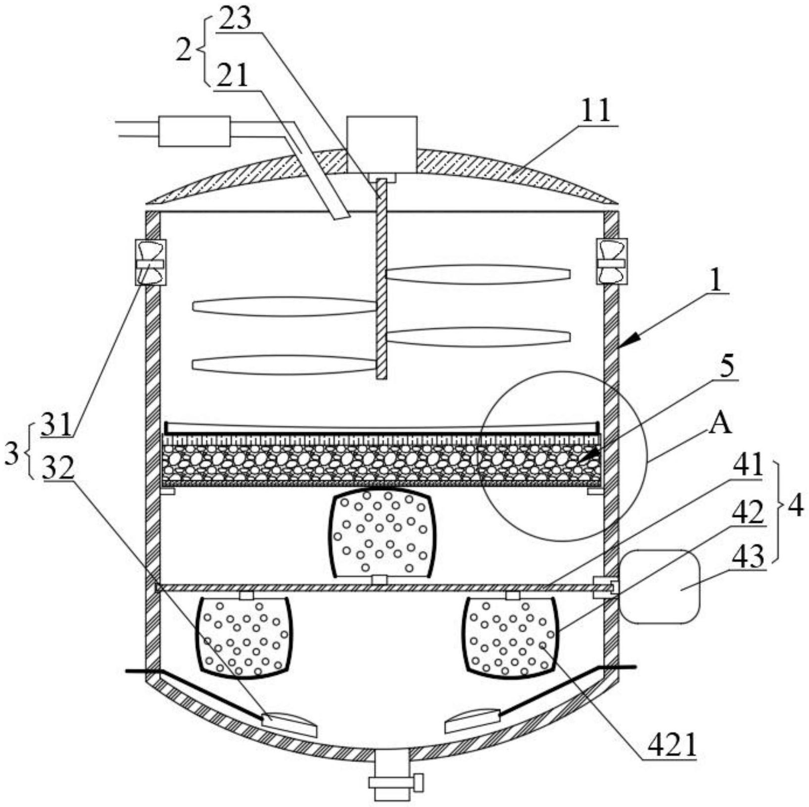
本实用新型涉及金属加工液生产技术领域,尤其是指一种金属加工液生产用搅动补气装置,包括搅拌箱,所述搅拌箱的上方设有进液组件和进气组件,所述搅拌箱的底部设有搅拌组件,所述搅拌组件的上方设有过滤组件;所述搅拌箱的顶部可拆卸设有箱盖,所述进液组件包括插装在所述箱盖上的进液管,还包括安装在所述箱盖上分液组件,所述进液管位于所述分液组件的上方;所述进气组件包括连接设置在所述搅拌箱的箱口的鼓风管、通入搅拌箱的箱底的微型曝气器及设置在搅拌箱的箱壁上自动排气阀。本实用新型在过滤处理的同时进行补气,减少加工液处于无氧环境的时间,且便于清理。


