授权公布号:CN212891048U
一种油罐灌装装置
有效
申请
2020-07-20
申请公布
1970-01-01
授权
2021-04-06
预估到期
2030-07-20
| 申请号 | CN202021432521.1 |
| 申请日 | 2020-07-20 |
| 授权公布号 | CN212891048U |
| 授权公告日 | 2021-04-06 |
| 分类号 | B65B3/08 |
| 分类 | 输送;包装;贮存;搬运薄的或细丝状材料; |
| 申请人名称 | 嘉斐科技(武汉)股份有限公司 |
| 申请人地址 | 湖北省武汉市东西湖区高桥二路188号(3) |
专利法律状态
2021-04-06
授权
状态信息
授权
摘要
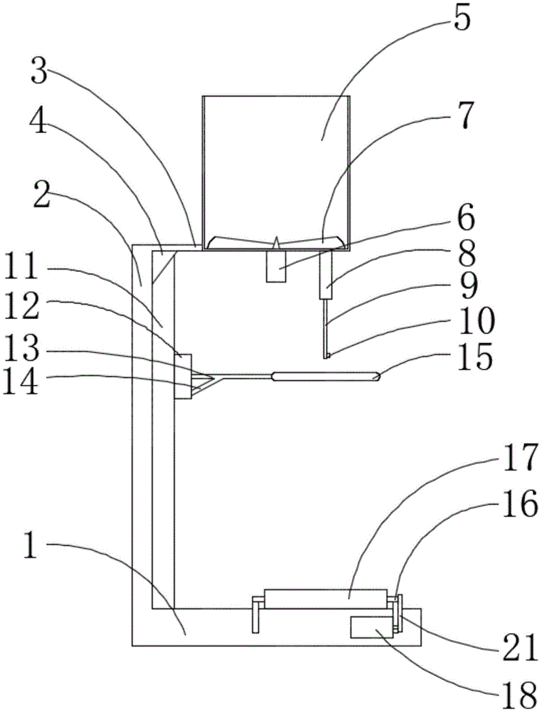
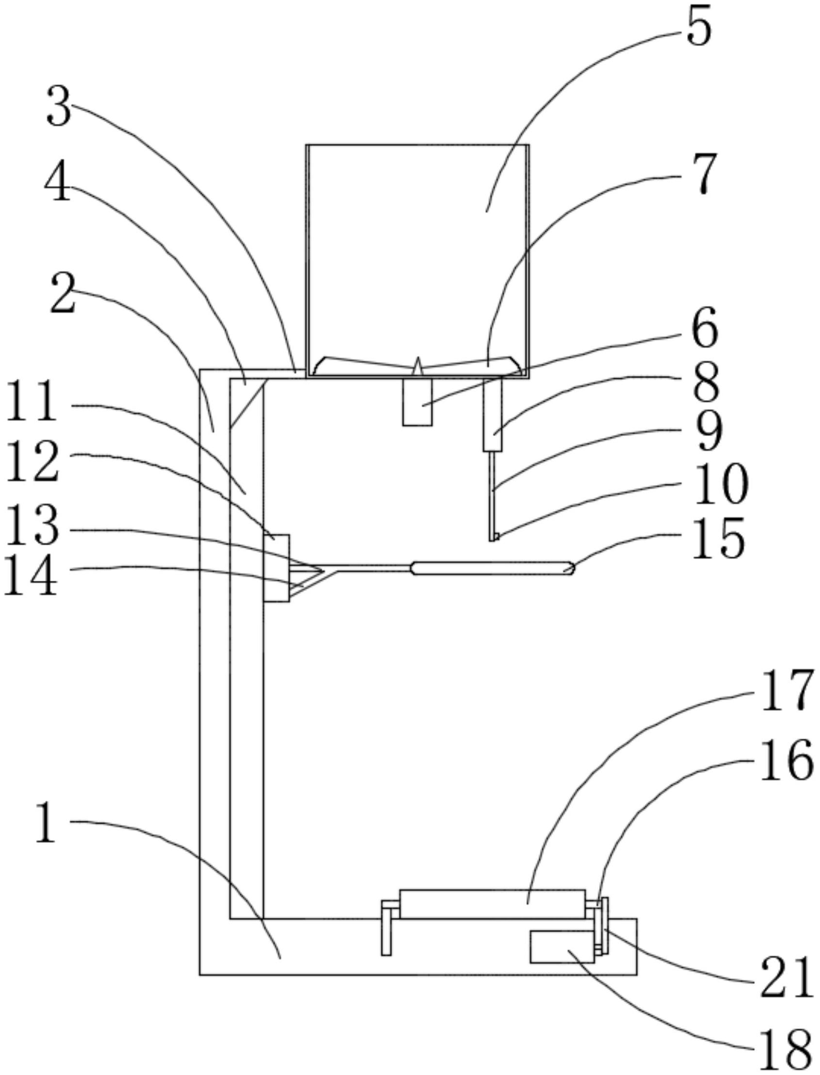
本实用新型公开了一种油罐灌装装置,包括底板和支撑板,所述支撑板垂直焊接于底板的一侧,所述支撑板的上表面焊接有安装板,所述支撑板与安装板的两侧焊接有加强筋,所述安装板上焊接有储油桶,所述储油桶的下表面通过螺丝固定有第一电机,所述第一电机的输出端向上延伸至储油桶内部,所述第一电机的输出端键连接有搅拌叶片,使用时,将油罐放置于传送带上,启动无杆气缸,带动固定环下降,将固定环套接于油罐的加油口外侧,以免油罐发生倾斜,启动第一电机,驱动搅拌叶片对油进行充分的搅拌,打开电磁阀,对油罐进行灌装,当灌装完毕后,关闭电磁阀,提升固定环,将油罐通过传送带移出底板。


