授权公布号:CN105565477B
生物膜增氧曝气板及曝气装置、以及藻类生物驯化方法
有效
申请
2016-02-01
申请公布
2016-05-11
授权
2019-02-12
预估到期
2036-02-01
| 申请号 | CN201610068908.5 |
| 申请日 | 2016-02-01 |
| 申请公布号 | CN105565477A |
| 申请公布日 | 2016-05-11 |
| 授权公布号 | CN105565477B |
| 授权公告日 | 2019-02-12 |
| 分类号 | C02F3/02;C02F3/34;C02F7/00;A01G33/00 |
| 分类 | 水、废水、污水或污泥的处理; |
| 申请人名称 | 嘉斐科技(武汉)股份有限公司 |
| 申请人地址 | 湖北省武汉市临空港经济技术开发区高桥二路188号 |
专利法律状态
2020-07-31
专利权人的姓名或者名称、地址的变更
状态信息
专利权人的姓名或者名称、地址的变更 IPC(主分类):C02F3/02 变更前专利权人:武汉玻尔科技股份有限公司 变更前地址:430040 湖北省武汉市临空港经济技术开发区高桥二路188号 变更后专利权人:玻尔科技(武汉)股份有限公司 变更后地址:430040 湖北省武汉市东西湖区高桥二路188号(3)
2020-07-31
专利权人的姓名或者名称、地址的变更
状态信息
专利权人的姓名或者名称、地址的变更 IPC(主分类):C02F3/02 变更前专利权人:玻尔科技(武汉)股份有限公司 变更前地址:430040 湖北省武汉市东西湖区高桥二路188号(3) 变更后专利权人:嘉斐科技(武汉)股份有限公司 变更后地址:430040 湖北省武汉市东西湖区高桥二路188号(3)
2019-02-12
授权
状态信息
授权
2016-06-08
实质审查的生效
状态信息
实质审查的生效IPC(主分类):C02F 3/02申请日:20160201
2016-05-11
公布
状态信息
公开
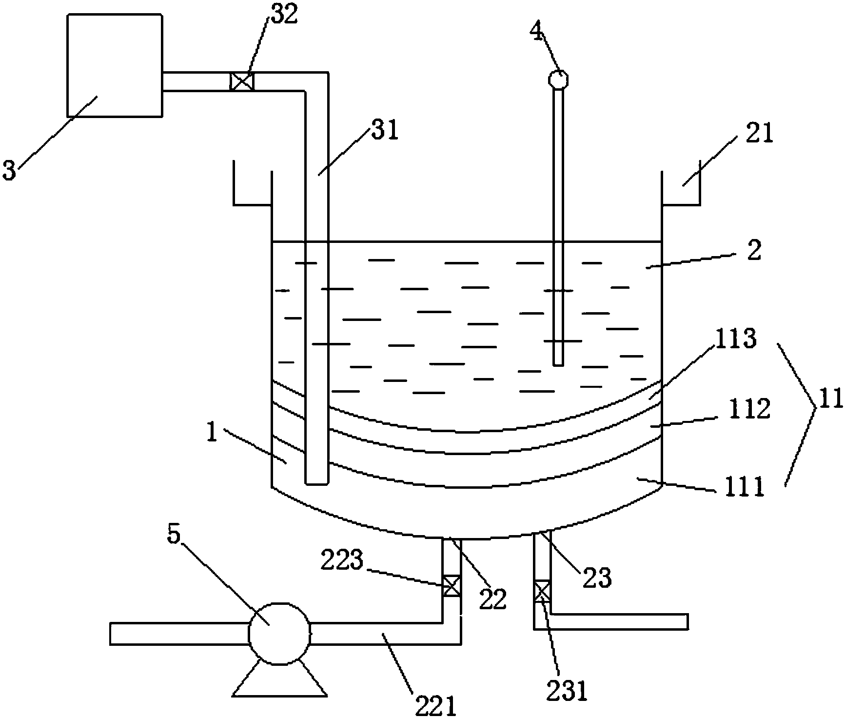
摘要
本发明公开一种生物膜增氧曝气板及曝气装置、以及藻类生物驯化方法,通过在曝气板上分别铺设有固氮生物膜材料,利用固氮藻类生物的特性将曝气装置排出的空气中的氮气和氧气分离,并形成一个阻止氧气通过的粘液层,使下层氧气充分与污水中微生物接触,提高水体中的含氧浓度,以实现对污水的净化作用,同时采用溶解氧监测设备对水体中的含氧浓度进行实时监测,并根据固氮蓝藻的生长情况,实时调控生物营养液的投加量及污水停留时间,从而提高曝气效率,减少水力停留时间。


