授权公布号:CN213823654U
一种金属加工液回收装置
有效
申请
2020-11-09
申请公布
1970-01-01
授权
2021-07-30
预估到期
2030-11-09
| 申请号 | CN202022571864.2 |
| 申请日 | 2020-11-09 |
| 授权公布号 | CN213823654U |
| 授权公告日 | 2021-07-30 |
| 分类号 | B01D29/03;B01D29/56;B01D29/96;B01D29/075 |
| 分类 | 一般的物理或化学的方法或装置; |
| 申请人名称 | 嘉斐科技(武汉)股份有限公司 |
| 申请人地址 | 湖北省武汉市东西湖区高桥二路188号(3) |
专利法律状态
2021-07-30
授权
状态信息
授权
2020-11-09
公布
状态信息
公布
摘要
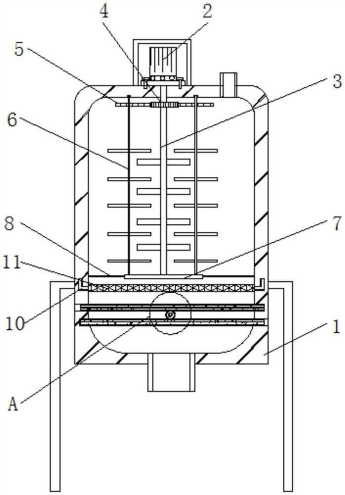
本实用新型公开了一种金属加工液回收装置,包括机体、放置板、第一滑动槽和转盘,所述机体的顶部安装有电机,且电机的输出端连接有传动杆,所述传动杆靠近电机的一端表面固定有传动齿轮,且传动齿轮的外侧与从动齿轮的内侧相连接,所述从动齿轮安装在从动杆的表面,所述放置板设置在从动杆与传动杆的下端,所述放置板的四周与连接杆的一端相固定,且连接杆的另一端固定在机体的内壁上。该金属加工液回收装置设置有第一过滤板,使用者通过启动电机,进而带动传动杆与从动杆,使得金属加工液内的铁屑落在第一过滤板,残留的细小铁屑将会落在第二过滤板与第三过滤板,进而有效的使得内部的铁屑进行分离。


