授权公布号:CN108203010B
牙排锁定装置和片材处理设备
有效
申请
2016-12-20
申请公布
2018-06-26
授权
2021-03-09
预估到期
2036-12-20
| 申请号 | CN201611186507.6 |
| 申请日 | 2016-12-20 |
| 申请公布号 | CN108203010A |
| 申请公布日 | 2018-06-26 |
| 授权公布号 | CN108203010B |
| 授权公告日 | 2021-03-09 |
| 分类号 | B65H5/14 |
| 分类 | 输送;包装;贮存;搬运薄的或细丝状材料; |
| 申请人名称 | 博斯特(上海)有限公司 |
| 申请人地址 | 上海市松江区松江工业区松东路330号 |
专利法律状态
2021-03-09
授权
状态信息
授权
2019-12-20
实质审查的生效
状态信息
实质审查的生效
2018-06-26
公布
状态信息
公布
摘要
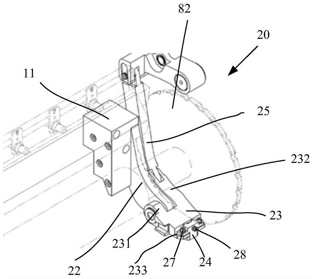
本发明公开了牙排锁定装置和片材处理设备。一种牙排锁定装置,该牙排锁定装置被构造成锁定和调节牙排的位置,包括:支承板,所述支承板具有近端和远端;杠杆部,所述杠杆部的远端可枢转地安装在支承板的所述近端;托架,所述托架可动地安装在所述杠杆部的近端上,所述托架设有牙排抵靠部,以及调节装置,所述调节装置设置在所述托架上,并且构造成能够调节所述托架与所述杠杆部的相对位置。此外,本发明还涉及包括牙排锁定装置的片材处理设备。采用根据本发明的牙排锁定装置,对牙排位置的调整更加方便。


