授权公布号:CN203477453U
烫金部出口电解铝箔吹气切换组件
失效
申请
2013-07-23
申请公布
1970-01-01
授权
2014-03-12
预估到期
2023-07-23
| 申请号 | CN201320440674.4 |
| 申请日 | 2013-07-23 |
| 授权公布号 | CN203477453U |
| 授权公告日 | 2014-03-12 |
| 分类号 | F16K11/085;B41F19/06;B41G1/00 |
| 分类 | 工程元件或部件;为产生和保持机器或设备的有效运行的一般措施;一般绝热; |
| 申请人名称 | 博斯特(上海)有限公司 |
| 申请人地址 | 上海市松江区松江工业区松东路330号 |
专利法律状态
2023-08-08
专利权的终止
状态信息
专利权有效期届满;IPC(主分类):F16K 11/085;专利号:ZL2013204406744;申请日:20130723;授权公告日:20140312;终止日期:
2014-03-12
授权
状态信息
授权
摘要
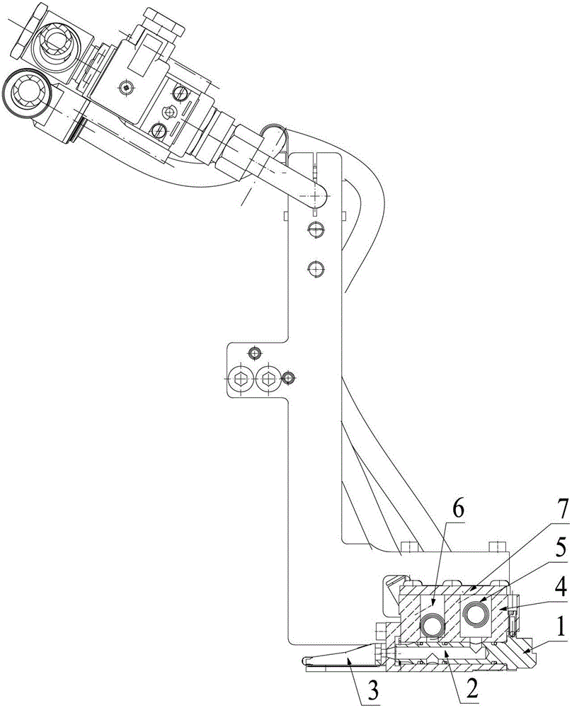
实用新型涉及烫金部出口电解铝箔吹气切换组件,安装在烫金机的出口处,用于控制吹气装置的出气量,该切换组件包括切换杆及吹气主体,切换杆与吹气主体连接,端部设置出气口,内部设置出气管道,吹气主体连接在切换杆上,该吹气主体内设置有两个气腔,该气腔与切换杆内的出气管道连通,控制不同的出气量。与现有技术相比,本实用新型通过设计调节杆,通过一个吹气装置就能够使其成为铝箔吹气装置或纸张吹气装置,并能够方便地实现两者之间的转换,从而可以更好的起到平缓纸张的作用,更好的使铝箔在烫金过程后脱离,另外优化了吹气装置的喷嘴以改善整体的效能,减少空气消耗并降低工作中的噪声水平。


