授权公布号:CN213098277U
二氧化碳激光治疗仪
有效
申请
2018-09-11
申请公布
1970-01-01
授权
2021-05-04
预估到期
2028-09-11
| 申请号 | CN201821485408.2 |
| 申请日 | 2018-09-11 |
| 授权公布号 | CN213098277U |
| 授权公告日 | 2021-05-04 |
| 分类号 | A61B18/20 |
| 分类 | 医学或兽医学;卫生学; |
| 申请人名称 | 武汉金莱特光电子有限公司 |
| 申请人地址 | 湖北省武汉市东湖新技术开发区理工大科技园研发基地二期一标段第A1号楼1-2层 |
专利法律状态
2021-05-04
授权
状态信息
授权
摘要
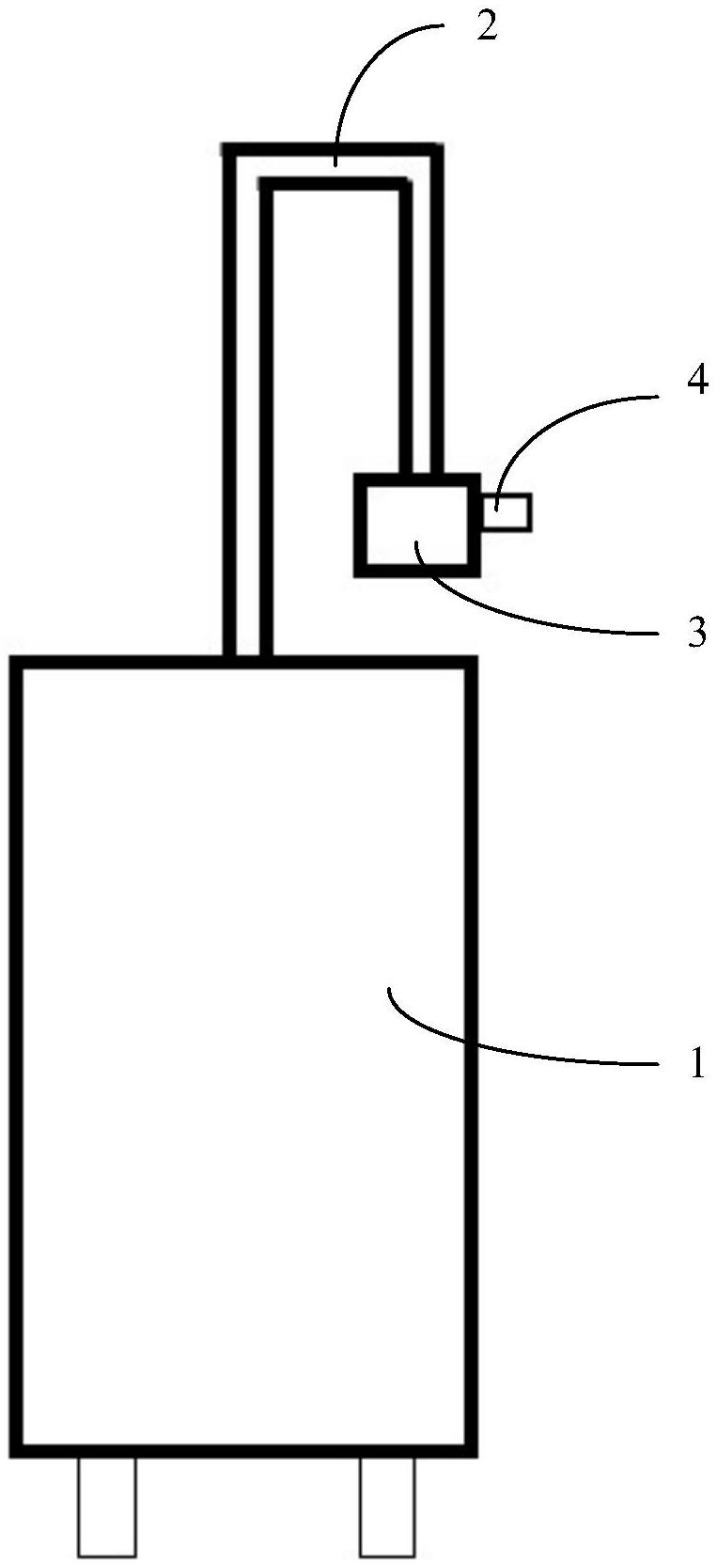
本实用新型实施例提供了一种二氧化碳激光治疗仪,包括:二氧化碳激光产生机箱、金属导光臂和扫描治疗单元;所述二氧化碳激光产生机箱、所述金属导光臂和所述扫描治疗单元依次连接,所述扫描治疗单元上设置有手控开关。本实用新型实施例提供的二氧化碳激光治疗仪,通过设置手控开关,当使用者使用二氧化碳激光治疗仪时,可在手动操作扫描治疗单元的同时触发手控开关,降低了对使用者手脚协调能力的要求,而且可以更便捷的实现对二氧化碳激光治疗仪的控制。


