授权公布号:CN218660938U
一种凹印机用冷却辊装置
有效
申请
2022-09-30
申请公布
1970-01-01
授权
2023-03-21
预估到期
2032-09-30
| 申请号 | CN202222638560.2 |
| 申请日 | 2022-09-30 |
| 授权公布号 | CN218660938U |
| 授权公告日 | 2023-03-21 |
| 分类号 | B41F13/22 |
| 分类 | 印刷;排版机;打字机;模印机〔4〕; |
| 申请人名称 | 陕西北人印刷机械有限责任公司 |
| 申请人地址 | 陕西省渭南市高新区东风大街西段71号 |
专利法律状态
2023-03-21
授权
状态信息
授权
摘要
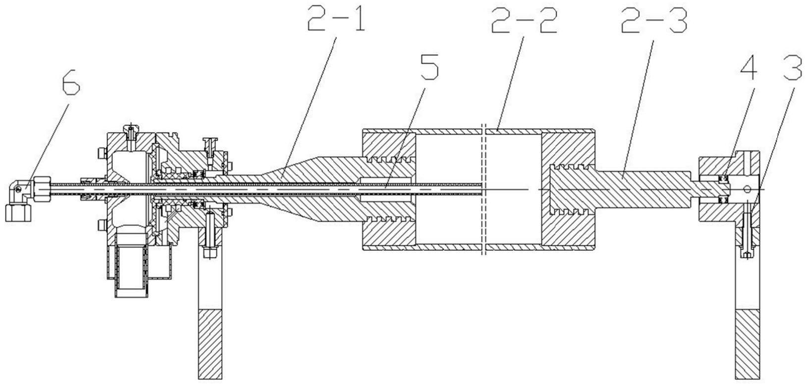
本实用新型公开了一种凹印机用冷却辊装置,包括机架和设置在机架上的水冷辊,水冷辊由依次连接的支撑轴A、辊身、支撑轴B热装而成,支撑轴A的通孔与辊身的空腔连通,支撑轴A一端与辊身连接,另一端设置有排水用壳体,排水用壳体中设置有排水腔,排水腔与支撑轴A的通孔连通,排水用壳体设置有排水口,排水口处设置有接水盘,支撑轴A中设置有进水管,进水管一端经排水用壳体的空腔后伸出排水用壳体,另一端伸入辊身的空腔中,进水管外壁与支撑轴A通孔内壁之间具有间隙,伸出排水用壳体的进水管一端、接水盘共同外接有冷却水循环系统。本实用新型通过设计良好的冷却水水路,解决了冷却辊使用过程中因漏水生锈等引起的设备故障。


