授权公布号:CN218660928U
一种凹版印刷机刮刀横向往复运动装置
有效
申请
2022-09-30
申请公布
1970-01-01
授权
2023-03-21
预估到期
2032-09-30
| 申请号 | CN202222604744.7 |
| 申请日 | 2022-09-30 |
| 授权公布号 | CN218660928U |
| 授权公告日 | 2023-03-21 |
| 分类号 | B41F9/10 |
| 分类 | 印刷;排版机;打字机;模印机〔4〕; |
| 申请人名称 | 陕西北人印刷机械有限责任公司 |
| 申请人地址 | 陕西省渭南市高新区东风大街西段71号 |
专利法律状态
2023-03-21
授权
状态信息
授权
摘要
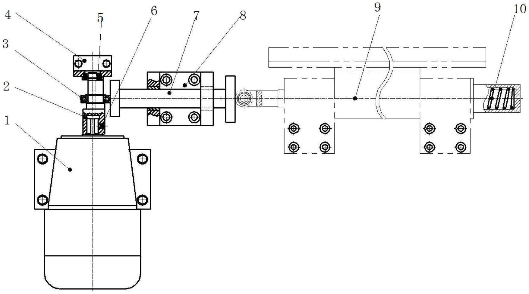
本实用新型公开了一种凹版印刷机刮刀横向往复运动装置,包括电机,电机连接曲杆偏心轴,曲杆偏心轴杆身一侧连接移动顶杆轴,移动顶杆轴远离曲杆偏心轴的一端连接刮刀;通过对原包凹版印刷机刮刀横向往复运动装置进行优化设计,解决原装置维修频率高,维修费用高,刮刀稳定性差,刮刀片使用寿命短等缺陷。


