授权公布号:CN108001043B
一种胶印机的供墨装置和供墨控制方法
有效
申请
2017-12-29
申请公布
2018-05-08
授权
2023-05-05
预估到期
2037-12-29
| 申请号 | CN201711478168.3 |
| 申请日 | 2017-12-29 |
| 申请公布号 | CN108001043A |
| 申请公布日 | 2018-05-08 |
| 授权公布号 | CN108001043B |
| 授权公告日 | 2023-05-05 |
| 分类号 | B41F31/08;B41F33/00;G06T7/62 |
| 分类 | 印刷;排版机;打字机;模印机〔4〕; |
| 申请人名称 | 高斯图文印刷系统(中国)有限公司 |
| 申请人地址 | 上海市普陀区云岭东路286号 |
专利法律状态
2023-05-05
授权
状态信息
授权
2018-05-08
公布
状态信息
公布
摘要
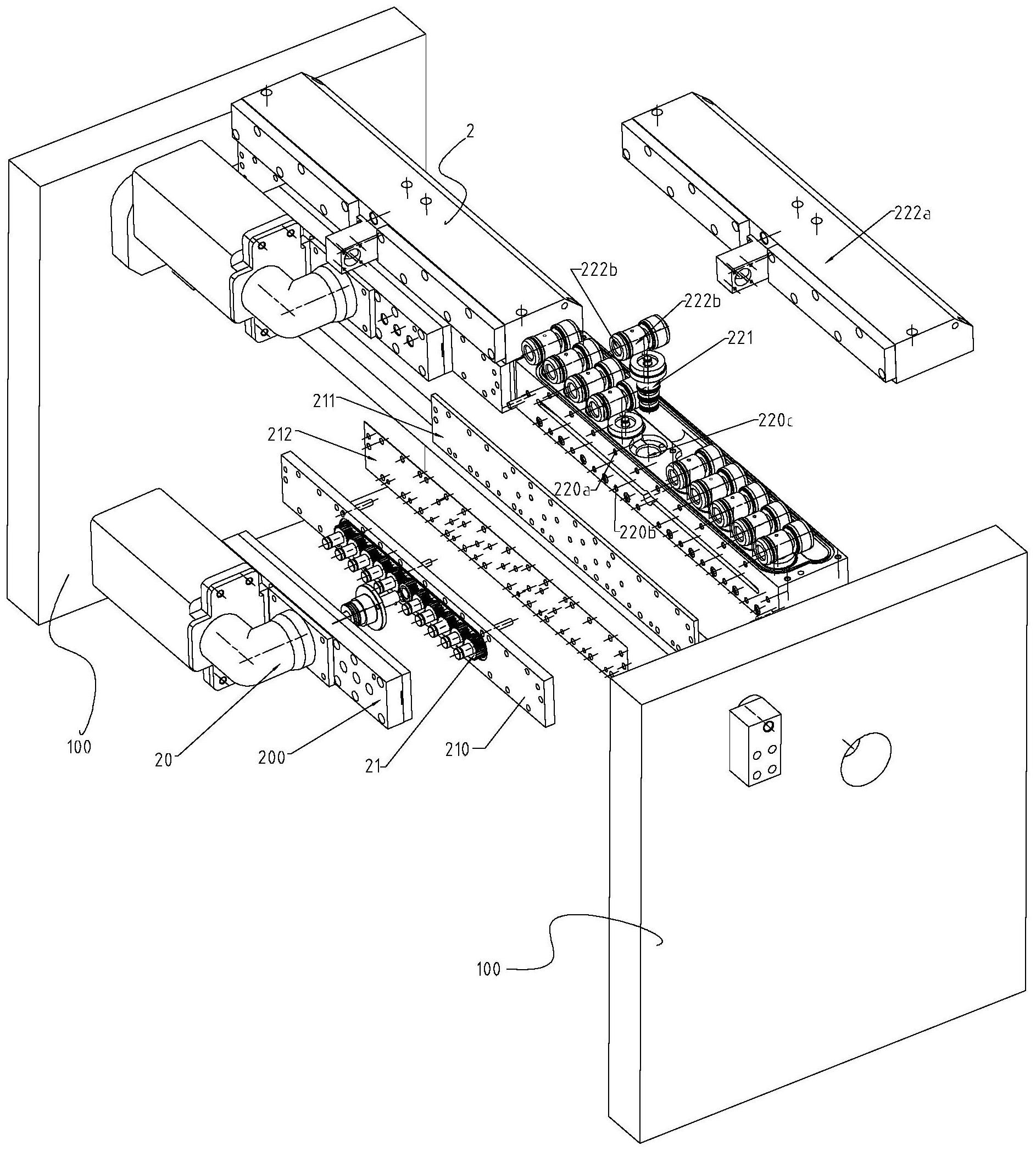
本发明公开了一种胶印机的供墨装置和供墨控制方法,供墨装置包括墨斗辊和数字墨斗。墨斗辊由墨斗辊电机驱动;数字墨斗安装在墨斗辊的上方并沿墨斗辊的轴向设置,每个数字墨斗对印张幅面上八个墨区;每个数字墨斗包括一个供墨泵、八个电磁换向阀、八个喷墨头和一个控制器;供墨泵通过墨泵电机驱动并具有一个油墨进孔和八个油墨出孔;八个电磁换向阀的进油孔一一对应地与供墨泵的八个油墨出孔连接;每个电磁换向阀各自由一个气动开关驱动;八个喷墨头一一对应地与八个电磁换向阀的出油孔连接并靠近墨斗辊的表面;控制器与八个电磁换向阀信号连接。本发明的供墨装置和供墨控制方法,它能实现印刷机的各个色组中墨量的分区精确控制。


