授权公布号:CN218809413U
一种用于商业印刷机的压纸器
有效
申请
2022-09-22
申请公布
1970-01-01
授权
2023-04-07
预估到期
2032-09-22
| 申请号 | CN202222519906.7 |
| 申请日 | 2022-09-22 |
| 授权公布号 | CN218809413U |
| 授权公告日 | 2023-04-07 |
| 分类号 | B65H26/04;B65H20/00;B65H35/06;B41F23/04 |
| 分类 | 输送;包装;贮存;搬运薄的或细丝状材料; |
| 申请人名称 | 高斯图文印刷系统(中国)有限公司 |
| 申请人地址 | 上海市闵行区江月路903号 |
专利法律状态
2023-04-07
授权
状态信息
授权
摘要
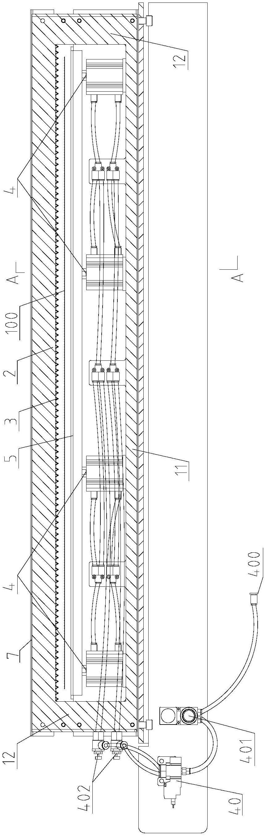
本实用新型公开了一种用于商业印刷机的压纸器,设在印刷机的印刷单元的出纸侧和烘箱的进纸侧之间并包括压纸器壳体、压纸块、断纸刀、数个顶纸气缸、顶纸板和断纸传感器。压纸器壳体的横截面呈U形结构,且压纸器壳体的前端板的上部开设进纸口,后端板的上部开设与进纸口相对的出纸口;压纸块固定在压纸器壳体的后端板的内侧面上并位于纸带的上方;断纸刀固定在压纸块的前端面上并位于纸带的上方;数个顶纸气缸并排地安装在压纸器壳体的底板的顶面上并位于纸带的下方;顶纸板安装在数个顶纸气缸的活塞杆的端头上;断纸传感器设在印刷单元的出纸侧与压纸器壳体之间。本实用新型能减少进入烘箱,同时减少纸张缠进折页滚筒的现象,达到节约纸张的效果。


