授权公布号:CN105089967B
双向摇盘压缩机
有效
申请
2014-05-21
申请公布
2015-11-25
授权
2018-04-20
预估到期
2034-05-21
| 申请号 | CN201410215783.5 |
| 申请日 | 2014-05-21 |
| 申请公布号 | CN105089967A |
| 申请公布日 | 2015-11-25 |
| 授权公布号 | CN105089967B |
| 授权公告日 | 2018-04-20 |
| 分类号 | F04B27/10;F04B39/00 |
| 分类 | 液体变容式机械;液体泵或弹性流体泵; |
| 申请人名称 | 比泽尔制冷技术(中国)有限公司 |
| 申请人地址 | 北京市大兴区北京经济技术开发区经海四路20号 |
专利法律状态
2018-04-20
授权
状态信息
授权
2015-12-23
实质审查的生效
状态信息
实质审查的生效IPC(主分类):F04B 27/10申请日:20140521
2015-11-25
公布
状态信息
公开
摘要
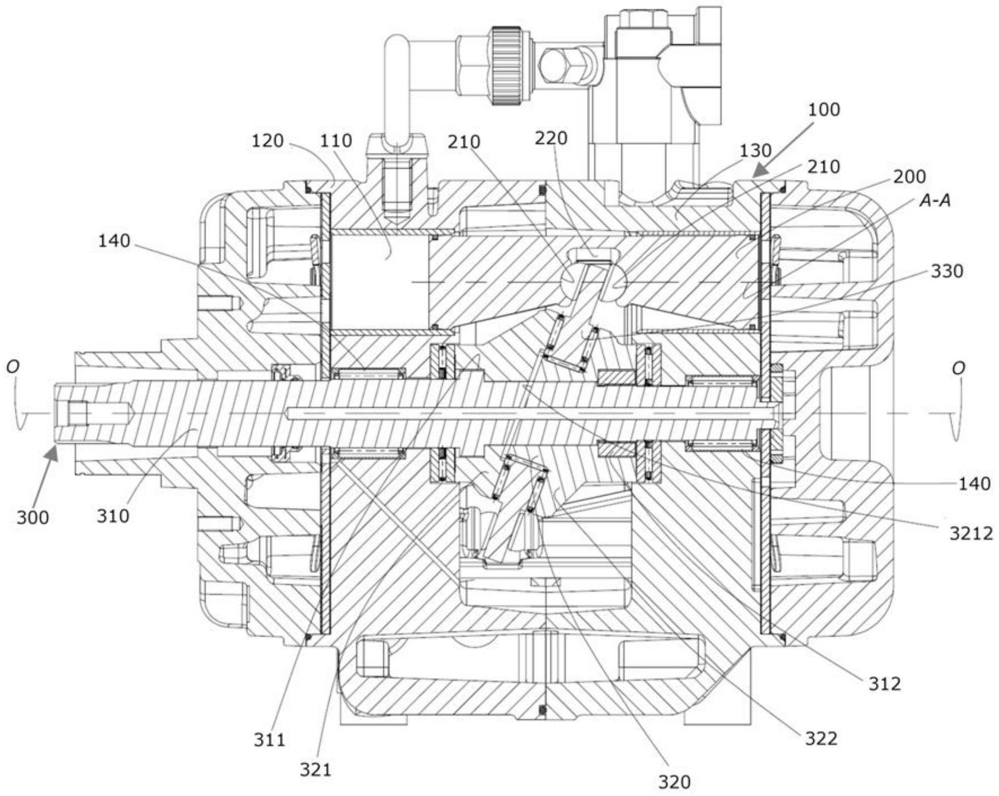
本发明公开了一种双向摇盘压缩机,包括:缸体;可在该缸体缸孔内进行往复运动的双向活塞;驱动该双向活塞的驱动组件,该驱动组件包括驱动轴、与该驱动轴固定连接的转子、以及与该转子相配合的环状摇盘;该转子具有用于与环状摇盘相配合的内表面,该内表面包括相对设置的第一内表面、第二内表面以及转子接触面;该摇盘部分地环绕设置于该转子的内表面内,并包括第一外周部、第二外周部、以及摇盘接触面;该第一内表面和第一外周部之间设置有第一轴承,该第二内表面和第二外周部之间设置有第二轴承,并且该转子接触面和摇盘接触面之间设置有第三轴承。本发明的双向摇盘压缩机可显著减少摩擦损耗。


