授权公布号:CN214464768U
压缩机填料组件
有效
申请
2021-01-11
申请公布
1970-01-01
授权
2021-10-22
预估到期
2031-01-11
| 申请号 | CN202120061234.2 |
| 申请日 | 2021-01-11 |
| 授权公布号 | CN214464768U |
| 授权公告日 | 2021-10-22 |
| 分类号 | F04B39/00;F04B39/02;F04B39/06 |
| 分类 | 液体变容式机械;液体泵或弹性流体泵; |
| 申请人名称 | 重庆气体压缩机厂有限责任公司 |
| 申请人地址 | 重庆市沙坪坝区上桥东风新四村1号 |
专利法律状态
2021-10-22
授权
状态信息
授权
摘要
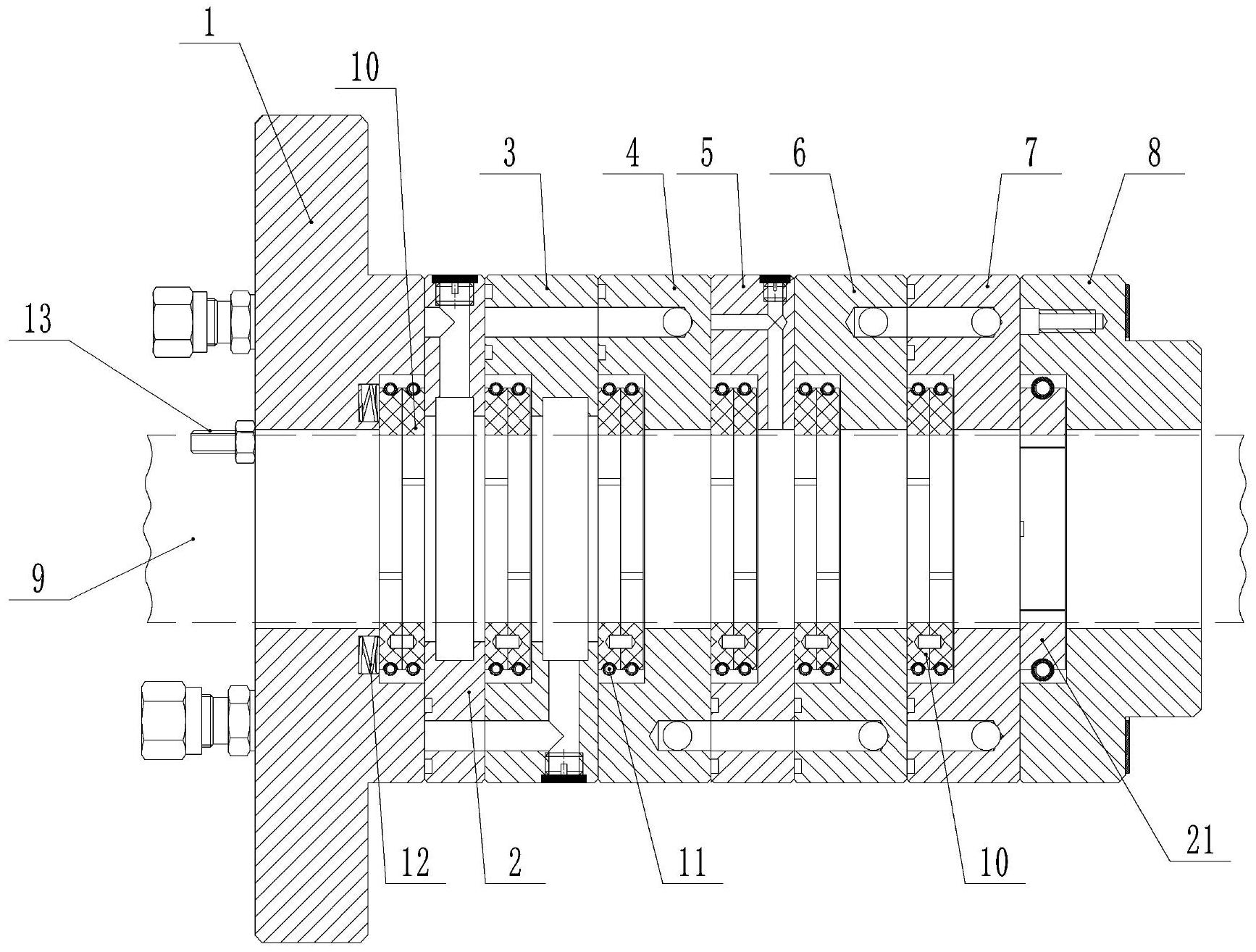
本实用新型提供一种压缩机填料组件,包括压盖,所述压盖靠近压缩机气缸一侧面上开设有安装槽;所述压盖开设安装槽一侧设置有漏气回收盒,所述漏气回收盒远离压盖一侧固定有填料盒,漏气回收盒和填料盒上均开设有安装槽;所述安装槽内均安装有密封环,所述压盖上的安装槽内安装有用于支撑密封环的压簧,所述压盖、漏气回收盒、填料盒和密封环均套设在活塞杆上。本方案结构简单,所需成本低,密封效果好,且在压盖靠近压缩机气缸一侧开设安装槽,能节省密封环的安装空间,有效的缩短压缩机填料组件的轴向长度。


