授权公布号:CN214582655U
组合式缓冲冷却分离器
有效
申请
2021-01-11
申请公布
1970-01-01
授权
2021-11-02
预估到期
2031-01-11
| 申请号 | CN202120066933.6 |
| 申请日 | 2021-01-11 |
| 授权公布号 | CN214582655U |
| 授权公告日 | 2021-11-02 |
| 分类号 | F28D7/16;F28F1/10;B01D45/14;F04B39/00 |
| 分类 | 一般热交换; |
| 申请人名称 | 重庆气体压缩机厂有限责任公司 |
| 申请人地址 | 重庆市沙坪坝区上桥东风新四村1号 |
专利法律状态
2021-11-02
授权
状态信息
授权
摘要
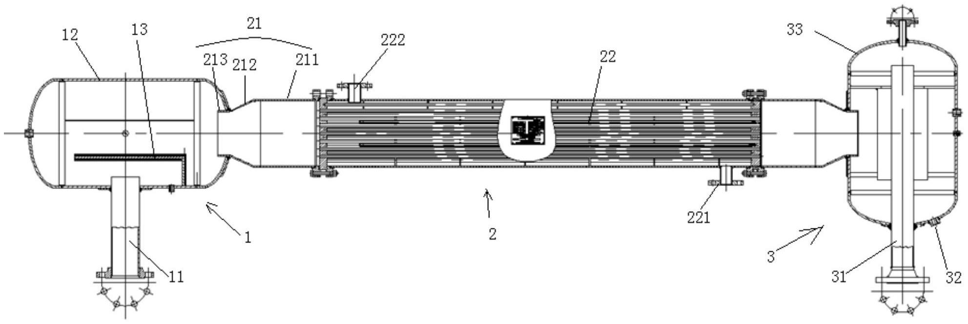
本实用新型提供一种组合式缓冲冷却分离器,用于解决现有技术中级间压力损失较大的问题。包括:依次直接连通的缓冲器、冷却器和分离器;所述缓冲器上设有进气管,所述分离器上设有出气管和排液口;所述冷却器的两端分别设有连接管,所述连接管包括大等径段和锥形段,所述大等径段和所述冷却器连接,两个连接管的所述锥形段分别伸入所述缓冲器和所述分离器内,所述锥形段和所述分离器、缓冲器焊接固定。节约下一级进气缓冲器,且减小占地。缓冲冷却分离器组合后无中间管道,整体容积变大气流更顺畅,更利于减小了气流脉动。无连接中间管道气体阻力小。通过锥形段的设置,使得其在组装焊接时,能够具有更好的定位效果,且焊接结构具有更高的可靠性。


