授权公布号:CN216594640U
一种压缩机润滑油初分离效率测试设备
有效
申请
2021-12-01
申请公布
1970-01-01
授权
2022-05-24
预估到期
2031-12-01
| 申请号 | CN202123007346.9 |
| 申请日 | 2021-12-01 |
| 授权公布号 | CN216594640U |
| 授权公告日 | 2022-05-24 |
| 分类号 | G01N5/02 |
| 分类 | 测量;测试; |
| 申请人名称 | 神钢压缩机制造(上海)有限公司 |
| 申请人地址 | 上海市嘉定区嘉定工业区兴荣路1515号 |
专利法律状态
2022-05-24
授权
状态信息
授权
摘要
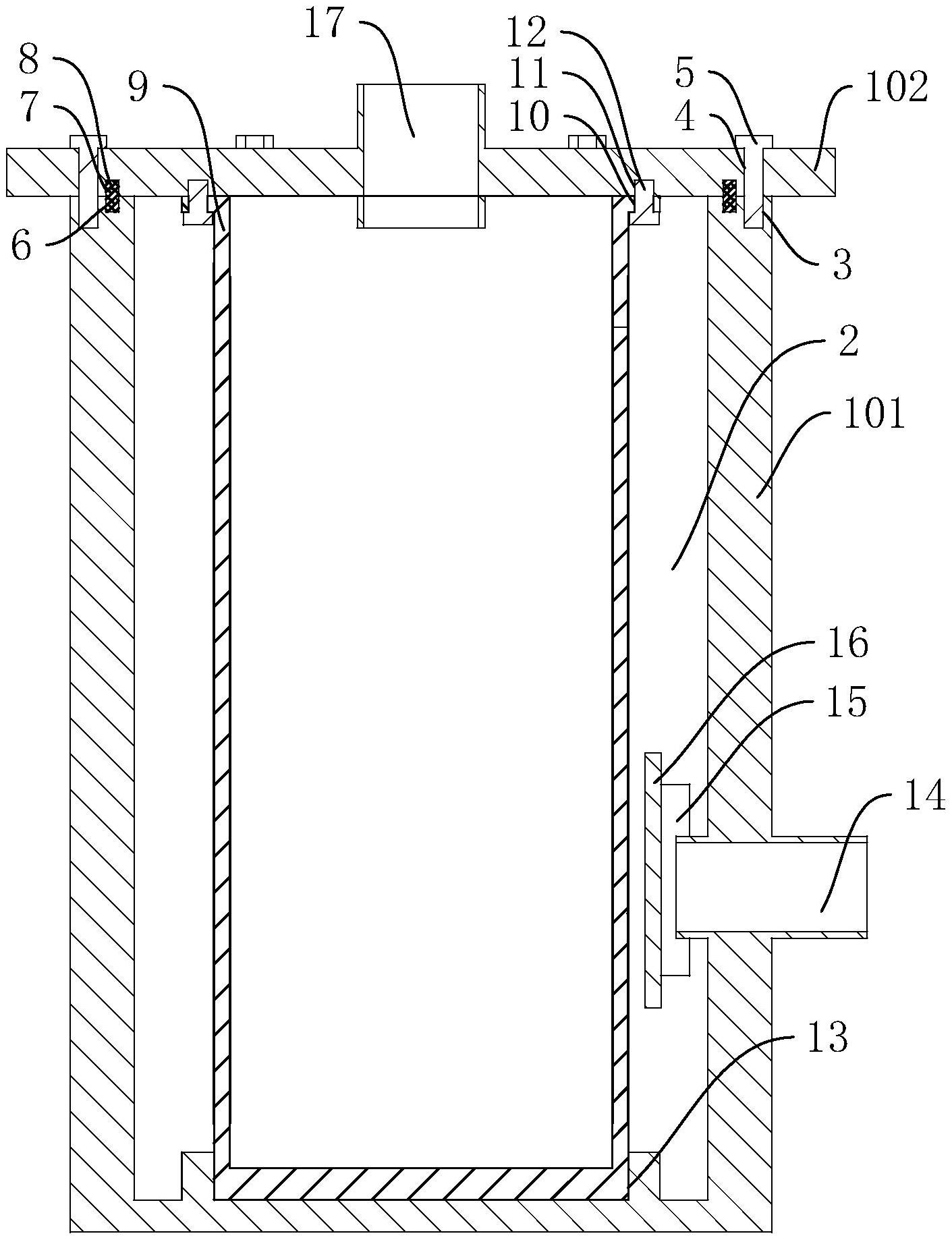
本申请涉及了一种压缩机润滑油初分离效率测试设备,其包括表壳,表壳开设有容纳腔,容纳腔内设有油气分离滤芯;表壳设有进气孔和排气孔,进气孔与容纳腔连通,进气孔用于连接油回收器的压缩气体排出口,排气孔与油气分离滤芯的内部连通,排气孔用于将油气分离滤芯过滤后的压缩气体排出。设置进气孔、油气分离滤芯以及排气孔,压缩气体会直接通过进气孔进入容纳腔,然后再经由油气分离滤芯进行油气分离,压缩气体会从排气孔中排出,压缩气体中的油液会留于表壳内;通过测量表壳导入压缩气体前后的重量,比对得出空气压缩机产出的压缩气体含油量,进而对油回收器的油气分离效果得出判断,实现对油气分离效果的快速检测。


