授权公布号:CN218778895U
一种油气分离器
有效
申请
2022-09-29
申请公布
1970-01-01
授权
2023-03-31
预估到期
2032-09-29
| 申请号 | CN202222581866.9 |
| 申请日 | 2022-09-29 |
| 授权公布号 | CN218778895U |
| 授权公告日 | 2023-03-31 |
| 分类号 | C10L3/10 |
| 分类 | 石油、煤气及炼焦工业;含一氧化碳的工业气体;燃料;润滑剂;泥煤; |
| 申请人名称 | 神钢无锡压缩机股份有限公司 |
| 申请人地址 | 江苏省无锡市新吴区鸿山街道锡协路199号 |
专利法律状态
2023-03-31
授权
状态信息
授权
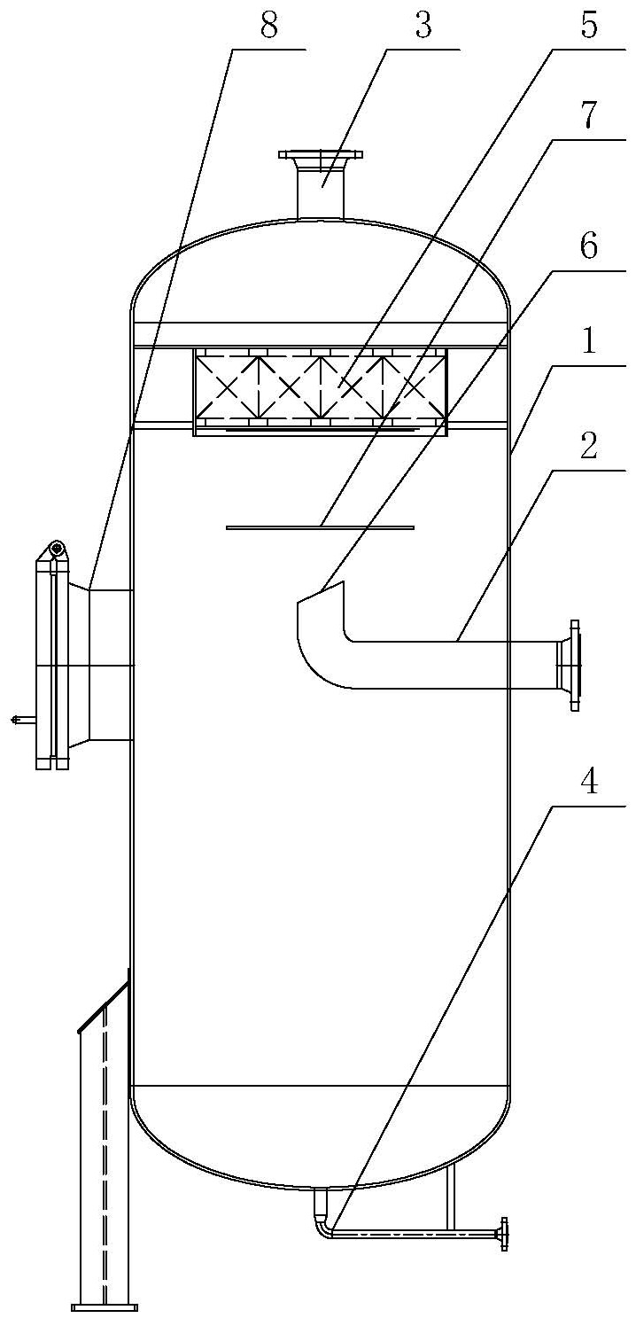
摘要
本实用新型涉及天然气处理技术领域,具体为一种油气分离器,其能够提高油气分离效率和稳定性,延长使用寿命,其包括筒体,所述筒体侧部安装有进气管、顶部安装有排气管、底部安装有排污管,所述筒体内上端安装有丝网除沫器,其特征在于,所述进气管伸入所述筒体内的进气口垂直朝向布置,所述进气口上方设置有挡板。


