授权公布号:CN101871446B
排气连接头
有效
申请
2010-07-30
申请公布
2010-10-27
授权
2012-05-23
预估到期
2030-07-30
| 申请号 | CN201010241004.0 |
| 申请日 | 2010-07-30 |
| 申请公布号 | CN101871446A |
| 申请公布日 | 2010-10-27 |
| 授权公布号 | CN101871446B |
| 授权公告日 | 2012-05-23 |
| 分类号 | F04B39/12 |
| 分类 | 液体变容式机械;液体泵或弹性流体泵; |
| 申请人名称 | 思科普压缩机(天津)有限公司 |
| 申请人地址 | 天津新技术产业园区武清开发区开源道南侧 |
专利法律状态
2012-05-23
授权
状态信息
授权
2010-12-08
实质审查的生效
状态信息
实质审查的生效IPC(主分类):F04B 39/12申请日:20100730
2010-10-27
公布
状态信息
公布
摘要
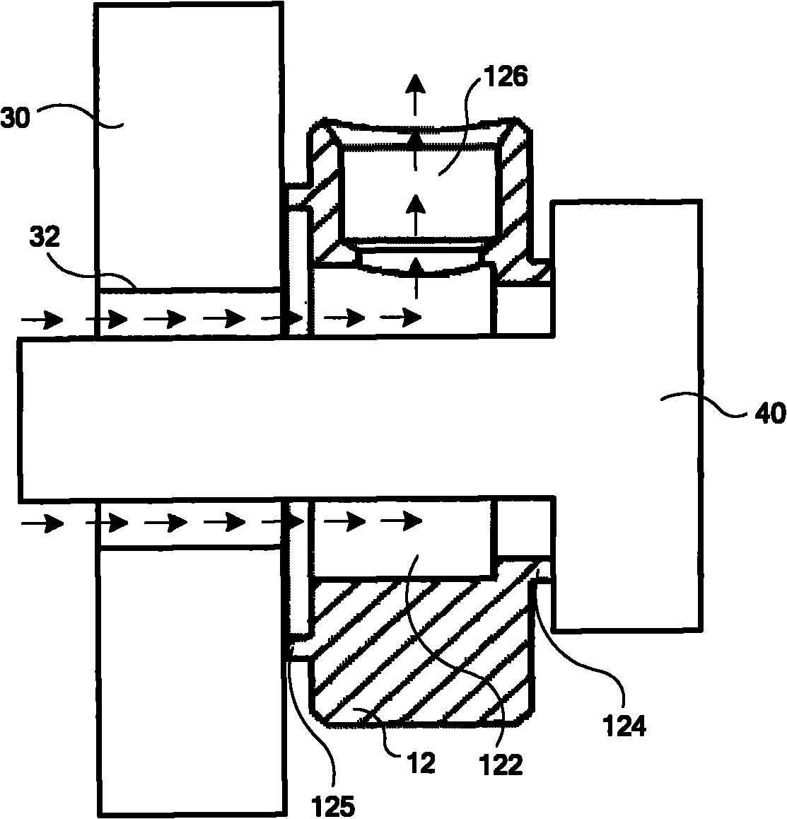
本发明提出了一种排气连接头,用于连接压缩机缸盖和排气管,所述排气连接头呈环形,其两端分别设置环形的第一凸台和第二凸台,所述第二凸台的直径大于所述第一凸台的直径。本发明的排气连接头的第二凸台的直径被设计成充分大于所述缸盖的连接孔的直径,从而避免了在与所述缸盖配合时地靠在连接孔的孔沿周围有缺陷的表面处,因此可以避免配合不紧密而导致的气体泄漏情况。


