授权公布号:CN204089364U
定子支架、电机以及压缩机
有效
申请
2014-09-30
申请公布
1970-01-01
授权
2015-01-07
预估到期
2024-09-30
| 申请号 | CN201420581016.1 |
| 申请日 | 2014-09-30 |
| 授权公布号 | CN204089364U |
| 授权公告日 | 2015-01-07 |
| 分类号 | H02K1/18 |
| 分类 | 发电、变电或配电; |
| 申请人名称 | 思科普压缩机(天津)有限公司 |
| 申请人地址 | 天津市武清开发区开源道27号 |
专利法律状态
2015-01-07
授权
状态信息
授权
摘要
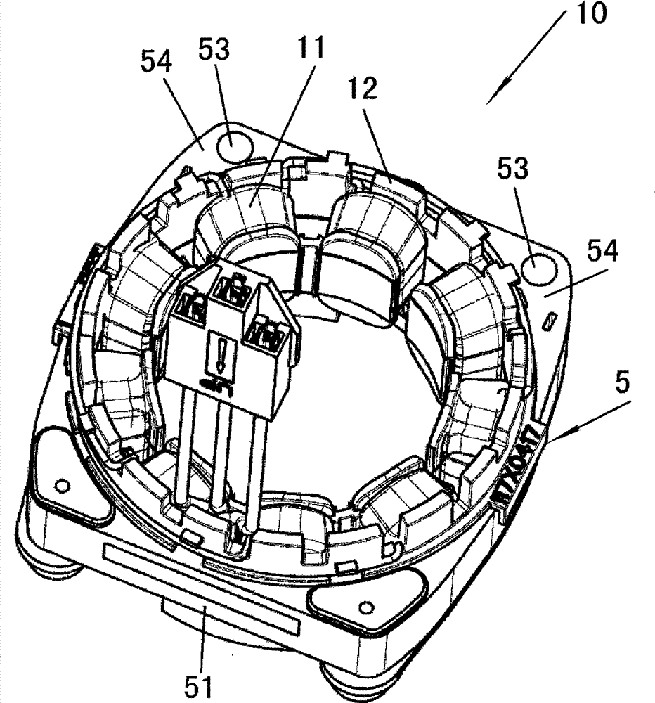
本实用新型公开了一种用于制冷系统的压缩机的电机定子的定子支架、用于制冷系统的压缩机的电机以及用于制冷系统的压缩机。定子支架包括:片状部分,安装于定子叠层的端面上,和杆部,从片状部分突出,用于将片状部分固定在定子叠层端面上。通过设置定子支架,降低或消除了压缩机中电机定子与其它部件碰撞所产生的噪声。


