授权公布号:CN203939710U
螺杆主机与电机一体式空压机
有效
申请
2014-06-30
申请公布
1970-01-01
授权
2014-11-12
预估到期
2024-06-30
| 申请号 | CN201420360947.9 |
| 申请日 | 2014-06-30 |
| 授权公布号 | CN203939710U |
| 授权公告日 | 2014-11-12 |
| 分类号 | F04C23/02 |
| 分类 | 液体变容式机械;液体泵或弹性流体泵; |
| 申请人名称 | 广东巨风机械制造有限公司 |
| 申请人地址 | 广东省广州市番禺区石碁镇金山村华创动漫产业园C1、C7、C17 |
专利法律状态
2014-11-12
授权
状态信息
授权
摘要
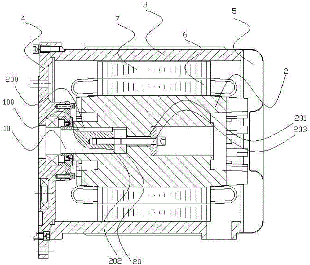
本实用新型公开了一种螺杆主机与电机一体式空压机,包括螺杆主机和电机,所述螺杆主机内设有机头轴,所述机头轴的外壁上设有第一凹槽,所述电机内设有转轴,所述转轴的第一端设有安装孔,所述机头轴设置在所述安装孔内,所述安装孔的内壁上设有第二凹槽,所述第一凹槽与所述第二凹槽通过键连接,所述转轴的第二端设有第一螺栓孔,所述机头轴上设有与所述第一螺栓孔匹配的第二螺栓孔,第一螺栓孔与第二螺栓孔通过螺栓连接。上述螺杆主机与电机一体式空压机,机头轴与转轴之间通过键连接传递转矩,通过螺栓连接固定转轴的轴向位置,使电机与螺杆主机连接更稳定,传动效率更高,装配简单,减少需维护的部件,节约了维护成本。


