授权公布号:CN217894956U
一种塔机双小车分离与自动关联装置
有效
申请
2022-03-21
申请公布
1970-01-01
授权
2022-11-25
预估到期
2032-03-21
| 申请号 | CN202220624053.0 |
| 申请日 | 2022-03-21 |
| 授权公布号 | CN217894956U |
| 授权公告日 | 2022-11-25 |
| 分类号 | B66C23/16;B66C23/62 |
| 分类 | 卷扬;提升;牵引; |
| 申请人名称 | 陕西建设机械股份有限公司 |
| 申请人地址 | 陕西省西安市经开区泾渭新城泾朴路11号 |
专利法律状态
2022-11-25
授权
状态信息
授权
摘要
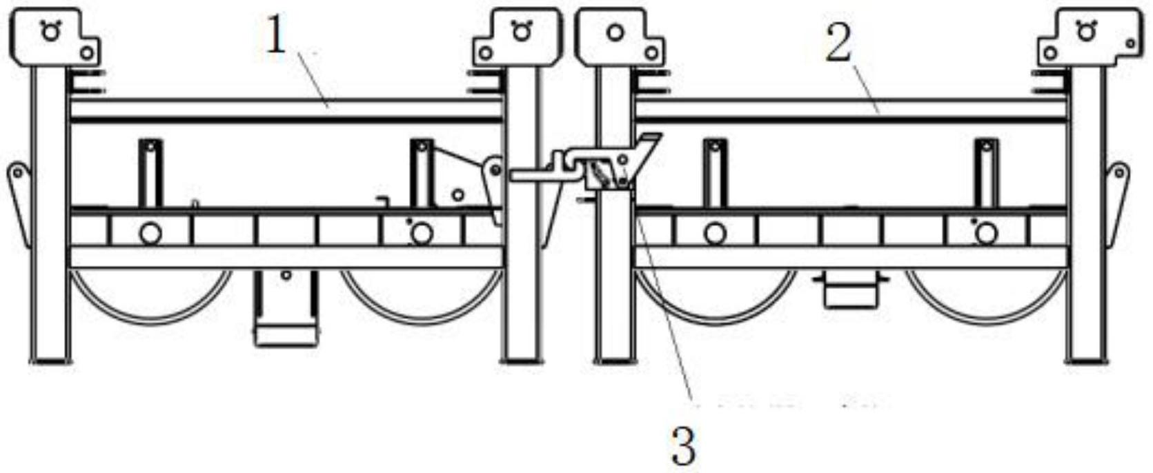
本实用新型属于塔机双小车分离与自动关联技术领域,公开了一种塔机双小车分离与自动关联装置,小车分为主小车和副小车,主小车与副小车通过关联装置进行连接;关联装置设有固定钩和固定板,主小车后端焊接有固定钩;副小车前端焊接有固定块;固定块上设有动钩。固定钩前端设有挂钩,挂钩后端设有定位柱,定位柱与挂钩之间的距离大于挂钩的半径。动钩通过动钩锁销和动钩转动轴固定在固定板上,动钩后端设有踏板,动钩中间设有两个圆形通孔和挂钩。固定板上端设有定位块,固定板中间设有动钩转动轴,拉簧固定销一侧设有锁销孔本实用新型符合国家安全性要求,无论操作人员在数量方面、操作快捷便利方面,用设备代替人工、提高设备自动化。


