授权公布号:CN220242979U
滚塑燃油箱加油口
有效
申请
2023-07-06
申请公布
1970-01-01
授权
2023-12-26
预估到期
2033-07-06
| 申请号 | CN202321759654.3 |
| 申请日 | 2023-07-06 |
| 授权公布号 | CN220242979U |
| 授权公告日 | 2023-12-26 |
| 分类号 | B60K15/04;F02M37/00 |
| 分类 | 一般车辆; |
| 申请人名称 | 山东临工工程机械有限公司 |
| 申请人地址 | 山东省临沂市经济开发区北横路205国道东侧 |
专利法律状态
2023-12-26
授权
状态信息
授权
摘要
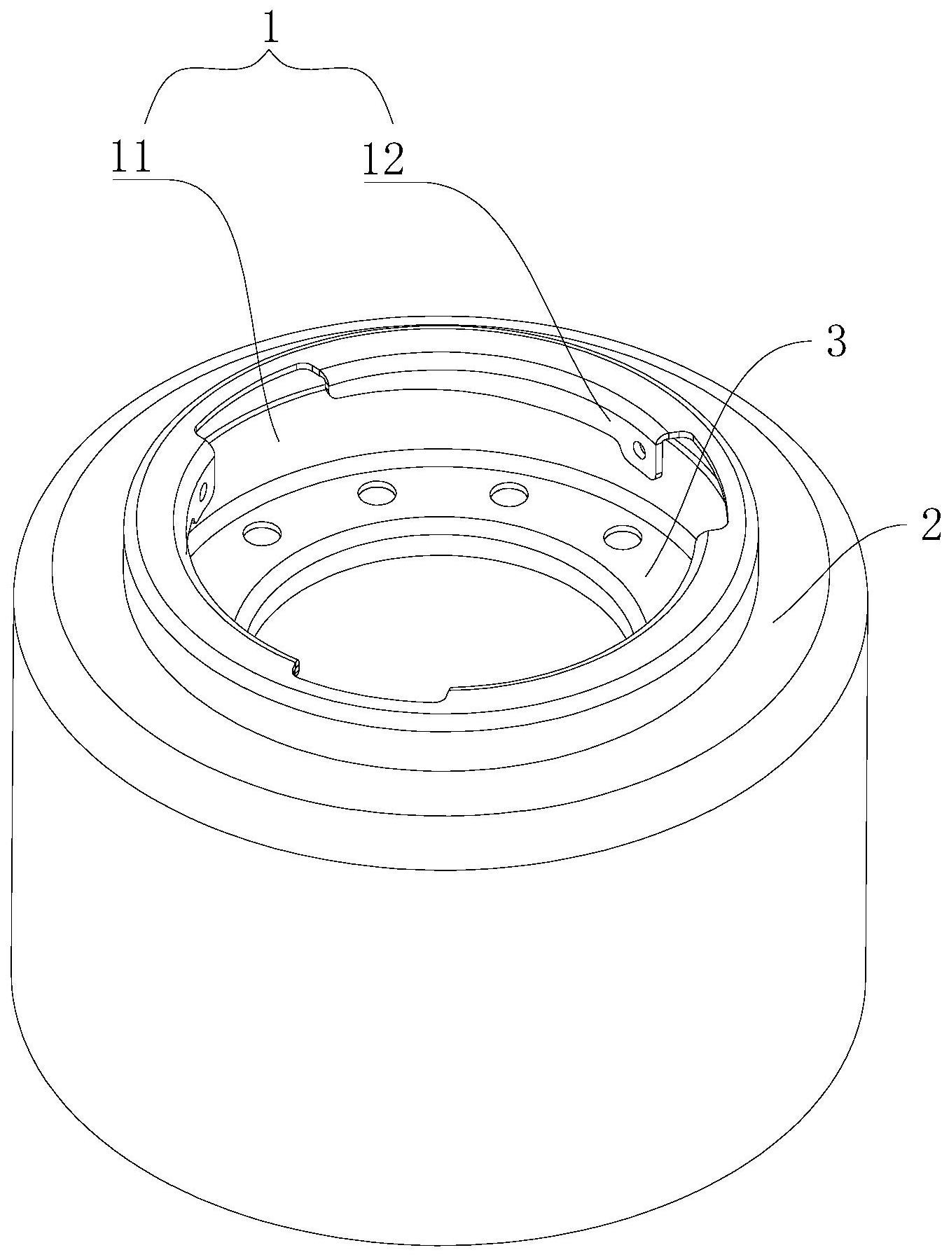
本实用新型属于燃油箱技术领域,具体公开一种滚塑燃油箱加油口,包括金属加油口,金属加油口外侧固定连接有周向限位件和轴向限位件,金属加油口、周向限位件和轴向限位件外侧包覆有塑料箱体,塑料箱体采用滚塑一体成型工艺,避免金属燃油箱本身易锈蚀的问题,减少发动机故障率,提高了发动机使用寿命,增加社会经济效益;将金属加油口集成在塑料箱体上,避免了金属燃油箱盖对非金属加油口的磨损。通过周向限位件可实现周向方向及水平方向上的限位,通过轴向限位件可实现轴线方向,即使用时竖直方向上的限位,从而实现金属加油口与箱体的紧密连接,减少漏油风险。


