授权公布号:CN219223251U
一种井式炉测温堵塞工装
有效
申请
2022-12-09
申请公布
1970-01-01
授权
2023-06-20
预估到期
2032-12-09
| 申请号 | CN202223298757.2 |
| 申请日 | 2022-12-09 |
| 授权公布号 | CN219223251U |
| 授权公告日 | 2023-06-20 |
| 分类号 | F27B1/28 |
| 分类 | 炉;窑;烘烤炉;蒸馏炉〔4〕; |
| 申请人名称 | 江麓机电集团有限公司 |
| 申请人地址 | 湖南省湘潭市雨湖区解放北路四号 |
专利法律状态
2023-06-20
授权
状态信息
授权
摘要
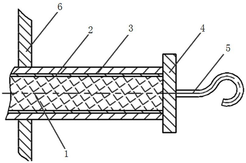
本实用新型公开了一种井式炉测温堵塞工装,包括无缝钢管、不锈钢盖、推拉把手、纤维塞,井式炉炉壳外壁上对应测温点位置处开有测温孔;附座与测温孔配合,通过焊接方式连接在井式炉炉壳外壁上;无缝钢管、不锈钢盖、推拉把手依次焊接形成测温堵头,无缝钢管内设有纤维塞,测温堵头拧入附座内孔中。测温时,热传感器通过附座内孔送入炉内并固定在测试点处,然后集中从附座内孔引出与仪表连接,关闭炉盖即可加热升温进行温度测量,由于测温孔很小,附座内孔的散热对井式炉的测温精度影响可忽略不计,测温更加准确;测温完毕后,测温堵头的无缝钢管缠绕1‑5层石棉布后拧入附座内,以阻挡炉膛内热量的损失;制造简易可靠,操作方便,测温准确。


