授权公布号:CN218799410U
一种铣削夹具
有效
申请
2022-09-01
申请公布
1970-01-01
授权
2023-04-07
预估到期
2032-09-01
| 申请号 | CN202222343600.0 |
| 申请日 | 2022-09-01 |
| 授权公布号 | CN218799410U |
| 授权公告日 | 2023-04-07 |
| 分类号 | B23C9/00;B23Q3/06 |
| 分类 | 机床;不包含在其他类目中的金属加工; |
| 申请人名称 | 天津移山工程机械有限公司 |
| 申请人地址 | 天津市河北区新开河街南口路28号 |
专利法律状态
2023-04-07
授权
状态信息
授权
摘要
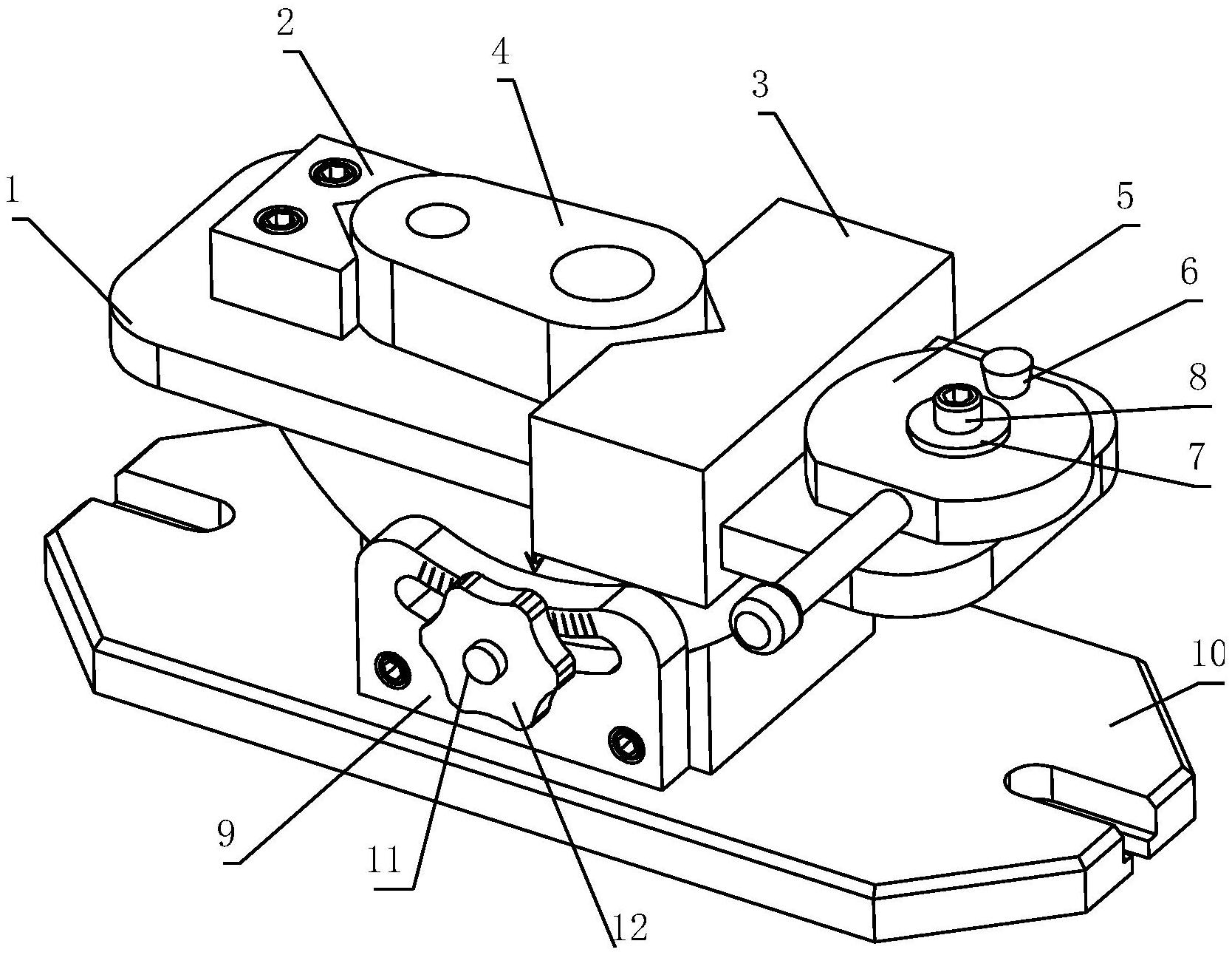
本实用新型提供了一种铣削夹具,包括底板、固定块、与固定块对应设置的夹紧块,所述固定块与底板固定连接,所述夹紧块可移动地连接于底板,所述夹紧块远离固定块的一端对应设有顶紧盘,所述顶紧盘与底板转动连接,所述顶紧盘侧壁上设有两个弧形面,两个弧形面与顶紧盘的转动轴线同轴心设置,两个弧形面的直径不同,两个弧形面之间设有平面。本实用新型有益效果:转动顶紧盘,使转动盘的一个弧形面顶紧夹紧块,驱动夹紧块移动并夹紧待加工零件,夹具结构简单,操作便捷,提高了铣削作业的工作效率。


