授权公布号:CN218712408U
布障反恐车自动伸缩机构
有效
申请
2022-08-31
申请公布
1970-01-01
授权
2023-03-24
预估到期
2032-08-31
| 申请号 | CN202222304735.6 |
| 申请日 | 2022-08-31 |
| 授权公布号 | CN218712408U |
| 授权公告日 | 2023-03-24 |
| 分类号 | E01F13/04 |
| 分类 | 道路、铁路或桥梁的建筑; |
| 申请人名称 | 天津移山工程机械有限公司 |
| 申请人地址 | 天津市河北区新开河街南口路28号 |
专利法律状态
2023-03-24
授权
状态信息
授权
摘要
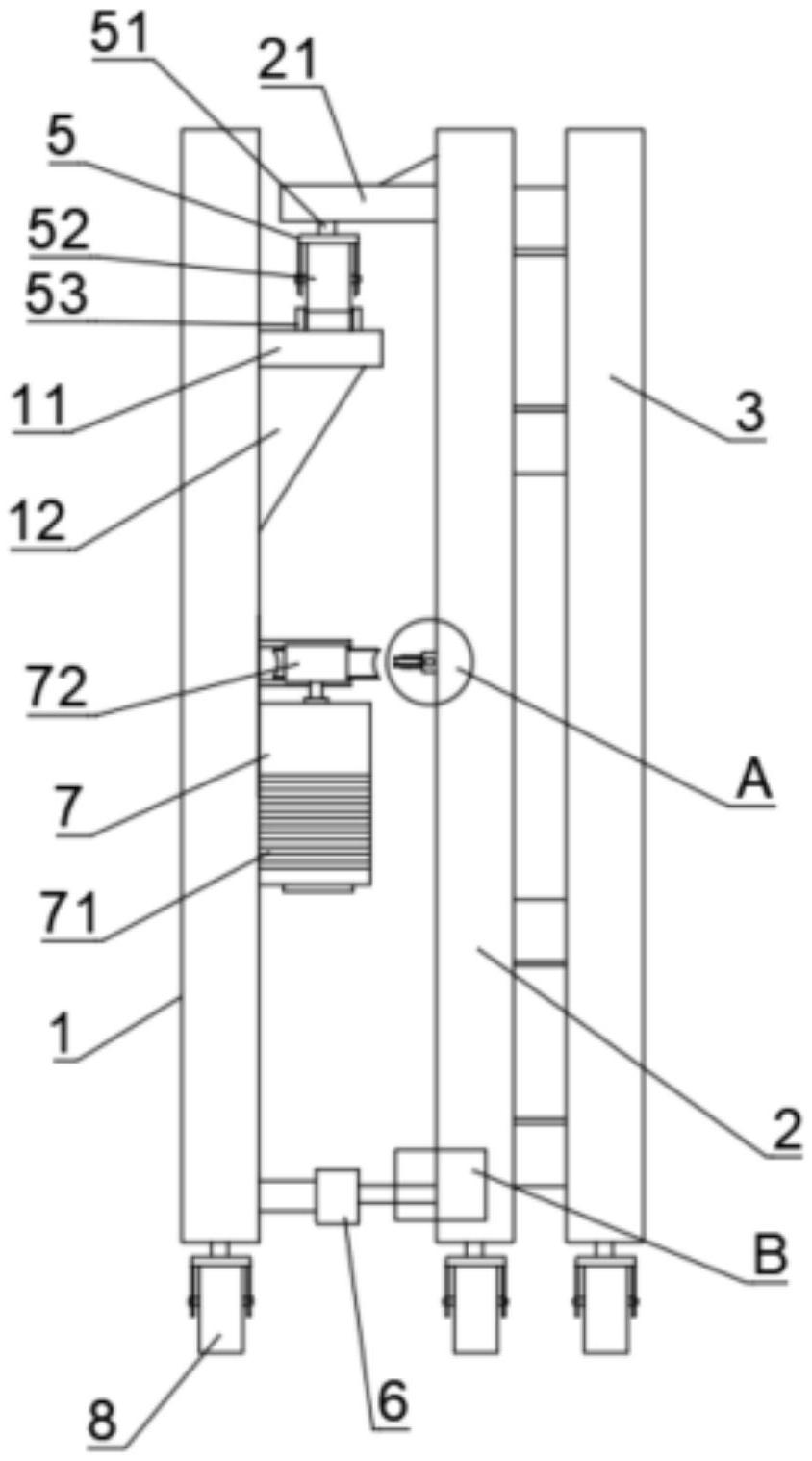
本实用新型提供了布障反恐车自动伸缩机构,包括基础框架、移动框架和折叠框架,所述基础框架、移动框架和折叠框架均设有用于对框架的结构进行稳固的支撑钢筋,基础框架和移动框架分别通过上滑动机构和下滑动机构连接,实现基础框架和移动框架的相对移动;所述移动框架通过安装至基础框架的驱动机构实现移动;折叠框架的端部铰接至移动框架的端部;基础框架、移动框架和折叠框架的底部均设有万向轮,且底部两端,每一段至少设有一个万向轮。本实用新型通过驱动机构实现自动伸缩,节省人力,并且在伸缩机构上还设有折叠框架,实现布障范围的加大。


