授权公布号:CN218817732U
一种正反转提升机构
有效
申请
2022-08-31
申请公布
1970-01-01
授权
2023-04-07
预估到期
2032-08-31
| 申请号 | CN202222304818.5 |
| 申请日 | 2022-08-31 |
| 授权公布号 | CN218817732U |
| 授权公告日 | 2023-04-07 |
| 分类号 | F16D41/12 |
| 分类 | 工程元件或部件;为产生和保持机器或设备的有效运行的一般措施;一般绝热; |
| 申请人名称 | 天津移山工程机械有限公司 |
| 申请人地址 | 天津市河北区新开河街南口路28号 |
专利法律状态
2023-04-07
授权
状态信息
授权
摘要
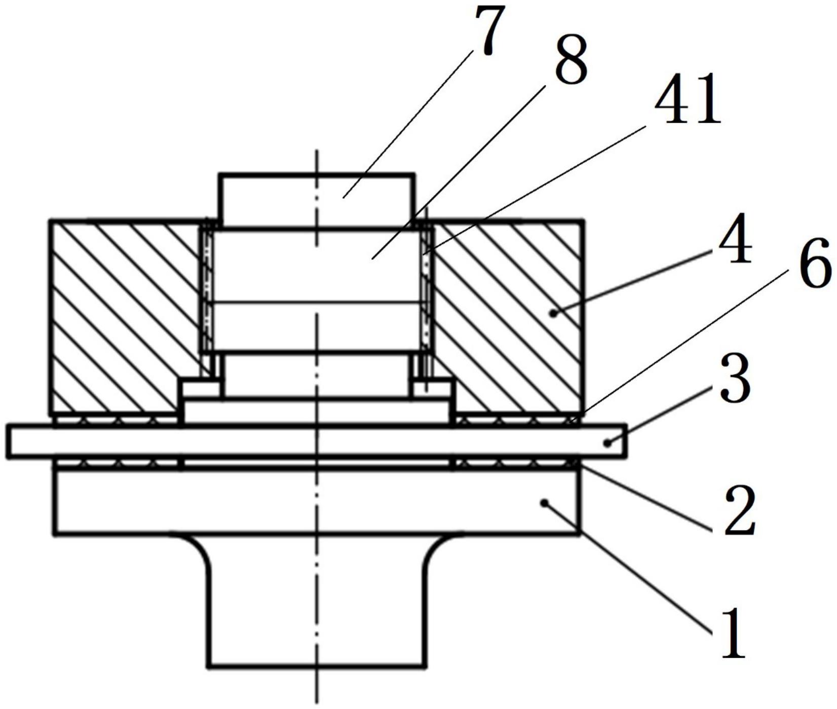
本实用新型提供了一种正反转提升机构,包括动力输入端、动力输出端和正反转连接单元,正反转连接单元设置在动力输入端、动力输出端之间;所述动力输入端可通过反转连接单元带动动力输出端运动。本实用新型有益效果:一种正反转提升机构,通过设置动力输入端和动力输出端,通过在二者之间设置的正反转连接单元,动力输入端既可以正转也可以反转,同时动力输入端和动力输出端为分体式结构,便于后期检修。


