授权公布号:CN110306893B
一种带限位解锁功能的铰链
有效
申请
2019-01-30
申请公布
2019-10-08
授权
2024-03-26
预估到期
2039-01-30
| 申请号 | CN201910090431.4 |
| 申请日 | 2019-01-30 |
| 申请公布号 | CN110306893A |
| 申请公布日 | 2019-10-08 |
| 授权公布号 | CN110306893B |
| 授权公告日 | 2024-03-26 |
| 分类号 | E05D11/06 |
| 分类 | 锁;钥匙;门窗零件;保险箱; |
| 申请人名称 | 林德(中国)叉车有限公司 |
| 申请人地址 | 福建省厦门市思明区金尚路89号 |
专利法律状态
2024-03-26
授权
状态信息
授权
2019-10-08
公布
状态信息
公布
摘要
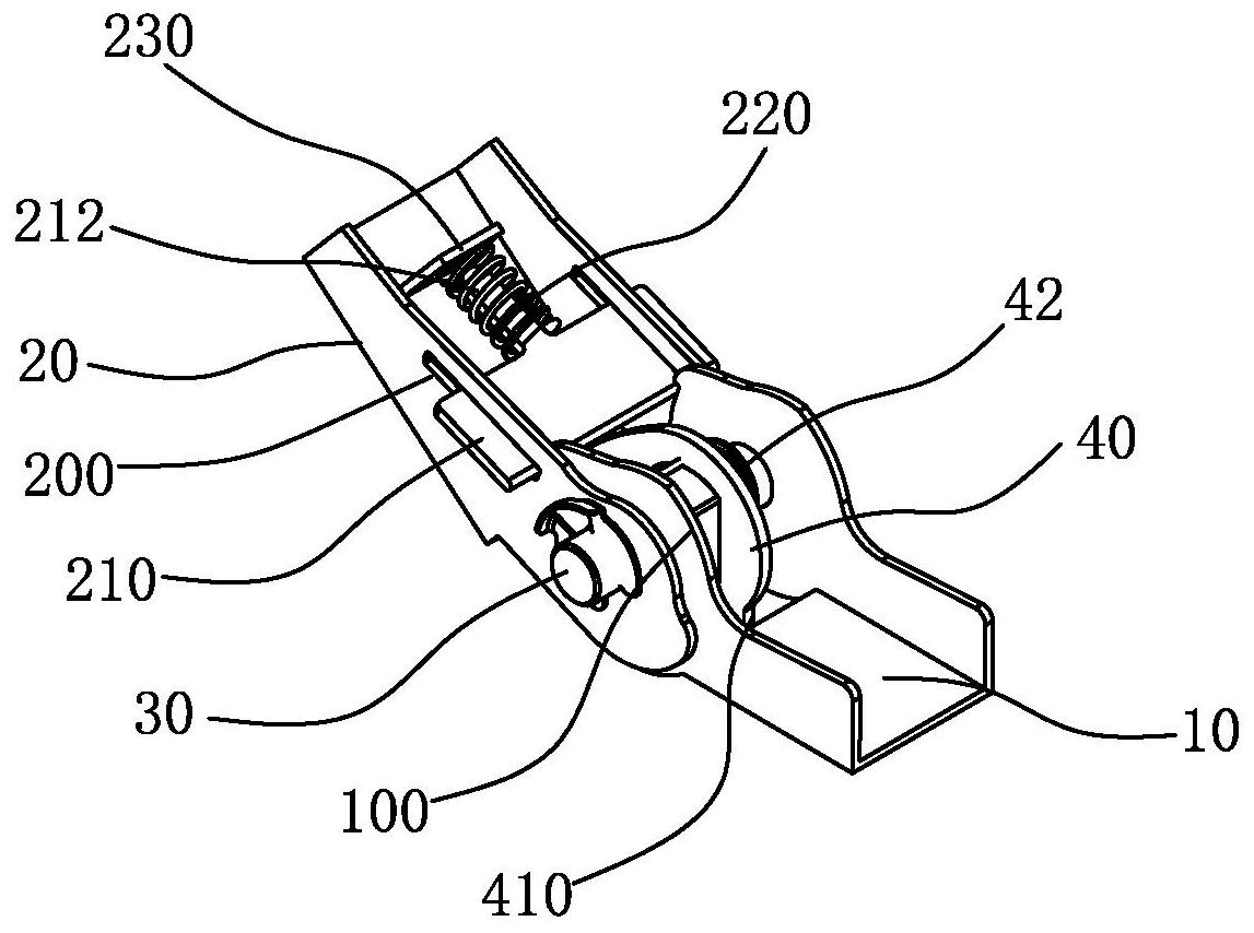
本发明涉及一种带限位解锁功能的铰链,其通过分别设置在第一铰接件和第二铰接件上的第一导向面以及限位件来实现该铰接的限位功能,而通过旋转复位件上的接纳部以及第一导向面上限位段和脱离段与铰接轴轴心之间距离的规划来实现该铰接的自动解锁,以使该铰接能够实现限位以及自动解锁的功能,且该铰接结构简单,易于实施。


