授权公布号:CN204135625U
管件组焊用工装
有效
申请
2014-10-16
申请公布
1970-01-01
授权
2015-02-04
预估到期
2024-10-16
| 申请号 | CN201420602749.9 |
| 申请日 | 2014-10-16 |
| 授权公布号 | CN204135625U |
| 授权公告日 | 2015-02-04 |
| 分类号 | B23K37/053 |
| 分类 | 机床;不包含在其他类目中的金属加工; |
| 申请人名称 | 大连叉车有限责任公司 |
| 申请人地址 | 辽宁省大连市甘井子区营祥街18号 |
专利法律状态
2015-02-04
授权
状态信息
授权
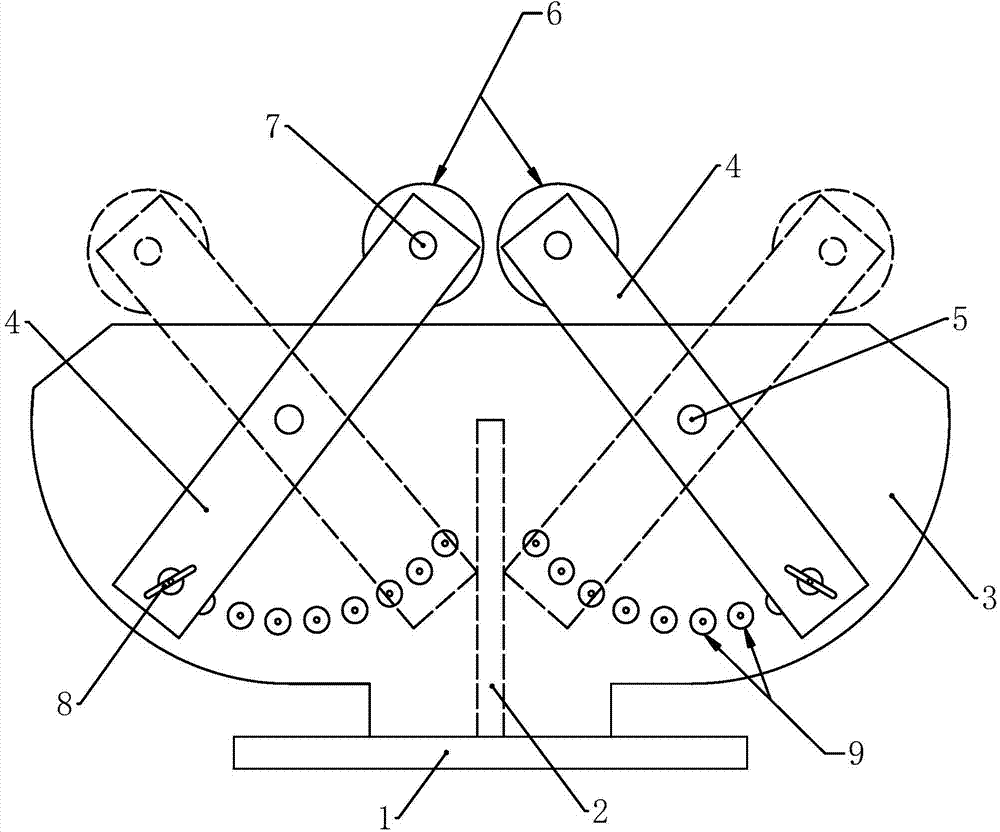
摘要
本实用新型公开了管件组焊用工装,包括两个焊接架,每个焊接架包括竖直的定位支板,定位支板上有两个对称设置的转动支架,转动支架中部通过转轴与定位支板相连接,转动支架顶端安装有滚轮,滚轮支撑于待焊接管组下方,转动支架尾端设有限位孔,定位支板上设有至少两个定位孔,定位孔与转动支架在不同角度时的限位孔相适配,当转动支架需要固定时,以定位螺栓穿过限位孔和相应的定位孔将转动支架与定位支板相固定。本实用新型的有益效果是结构简单,适用管径范围广,焊接操作方便且劳动强度大大降低。适用于管组的焊接。


