授权公布号:CN111908383B
一种托盘联动校准装置及方法
有效
申请
2020-08-18
申请公布
2020-11-10
授权
2023-07-18
预估到期
2040-08-18
| 申请号 | CN202010830096.X |
| 申请日 | 2020-08-18 |
| 申请公布号 | CN111908383A |
| 申请公布日 | 2020-11-10 |
| 授权公布号 | CN111908383B |
| 授权公告日 | 2023-07-18 |
| 分类号 | B66F9/075;B66F9/24 |
| 分类 | 卷扬;提升;牵引; |
| 申请人名称 | 诺力智能装备股份有限公司 |
| 申请人地址 | 浙江省湖州市长兴县太湖街道长州路528号 |
专利法律状态
2023-07-18
授权
状态信息
授权
2020-11-27
实质审查的生效
状态信息
实质审查的生效;IPC(主分类):B66F9/075;申请日:20200818
2020-11-10
公布
状态信息
公布
摘要
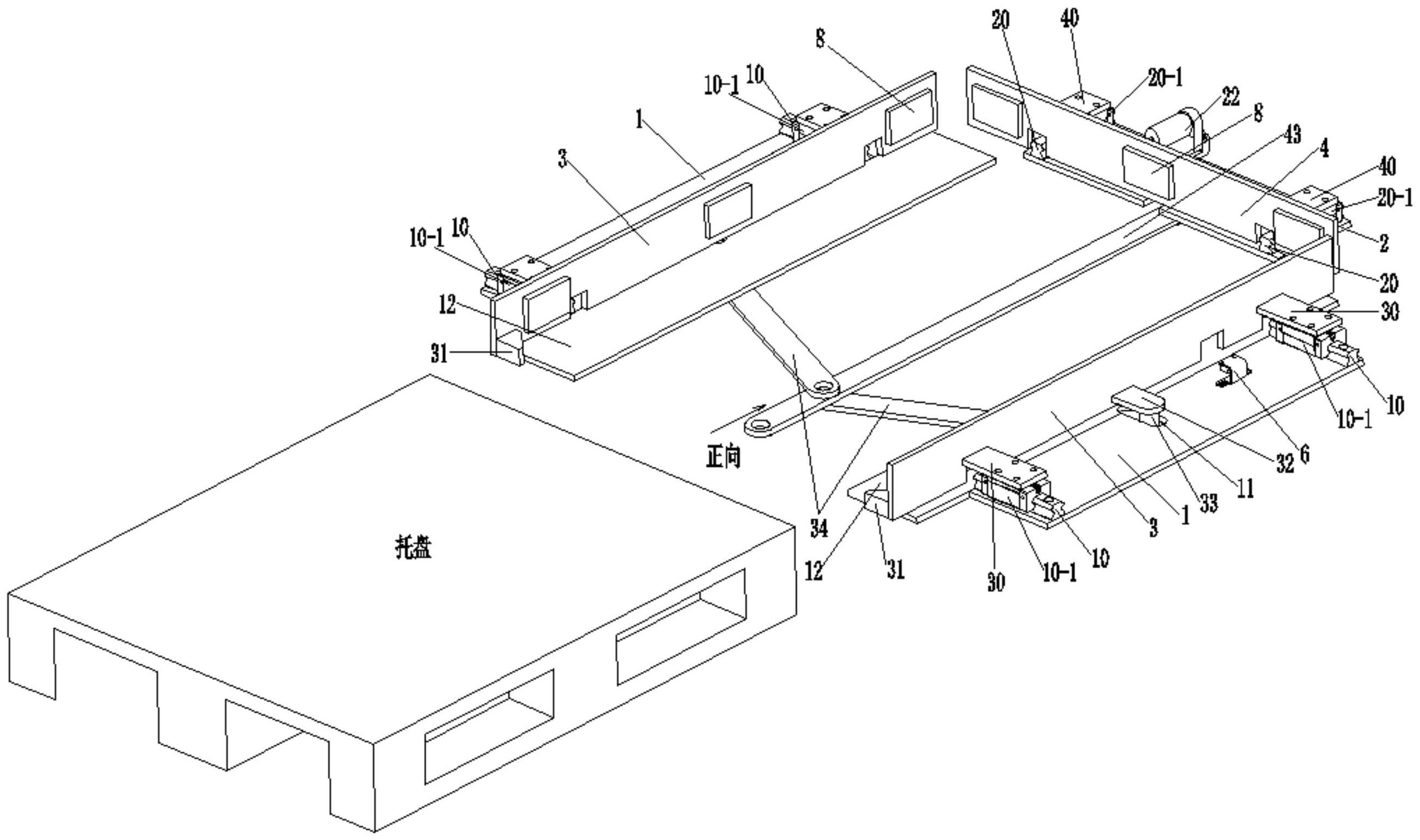
本发明公开了一种托盘联动校准装置及方法,包括底板一、底板二、侧推板、正推板、限位开关座和在席开关;底板一上设有导轨一,底板一中间设有限位孔一;底板二上设有导轨二,底板二上设有限位孔二,底板二上设有电动推杆;侧推板设有连接板一;正推板设有连接板二;限位开关座与底板二连接,在席开关与底板一连接;侧推板设有延伸板一,延伸板一下端设有限位销,限位销下端铰接连杆一;正推板设有延伸板二,延伸板二下端设有限位轴,限位轴下端连接连杆二;两个连杆一端部都与连杆二铰接;避免人工放置误差,损伤托盘,安全隐患,提高校准效率;保证托盘使用寿命;提高对托盘限位范围;实现限位精度调整;满足其他机器人精度对接要求。


