授权公布号:CN108035818B
预燃室火花塞的气缸盖
有效
申请
2017-11-17
申请公布
2018-05-15
授权
2021-02-05
预估到期
2037-11-17
| 申请号 | CN201711147653.2 |
| 申请日 | 2017-11-17 |
| 申请公布号 | CN108035818A |
| 申请公布日 | 2018-05-15 |
| 授权公布号 | CN108035818B |
| 授权公告日 | 2021-02-05 |
| 分类号 | F02F1/40; |
| 分类 | 燃烧发动机;热气或燃烧生成物的发动机装置; |
| 申请人名称 | 无锡开普动力有限公司 |
| 申请人地址 | 江苏省无锡市新吴区旺庄工业配套区三期经一路旁1、3至9、13号房 |
专利法律状态
2021-02-05
授权
状态信息
授权
2018-06-08
实质审查的生效
状态信息
实质审查的生效;IPC(主分类):F02F1/40;专利申请号:2017111476532;申请日:20171117
2018-05-15
发明专利申请公布
状态信息
公布
摘要
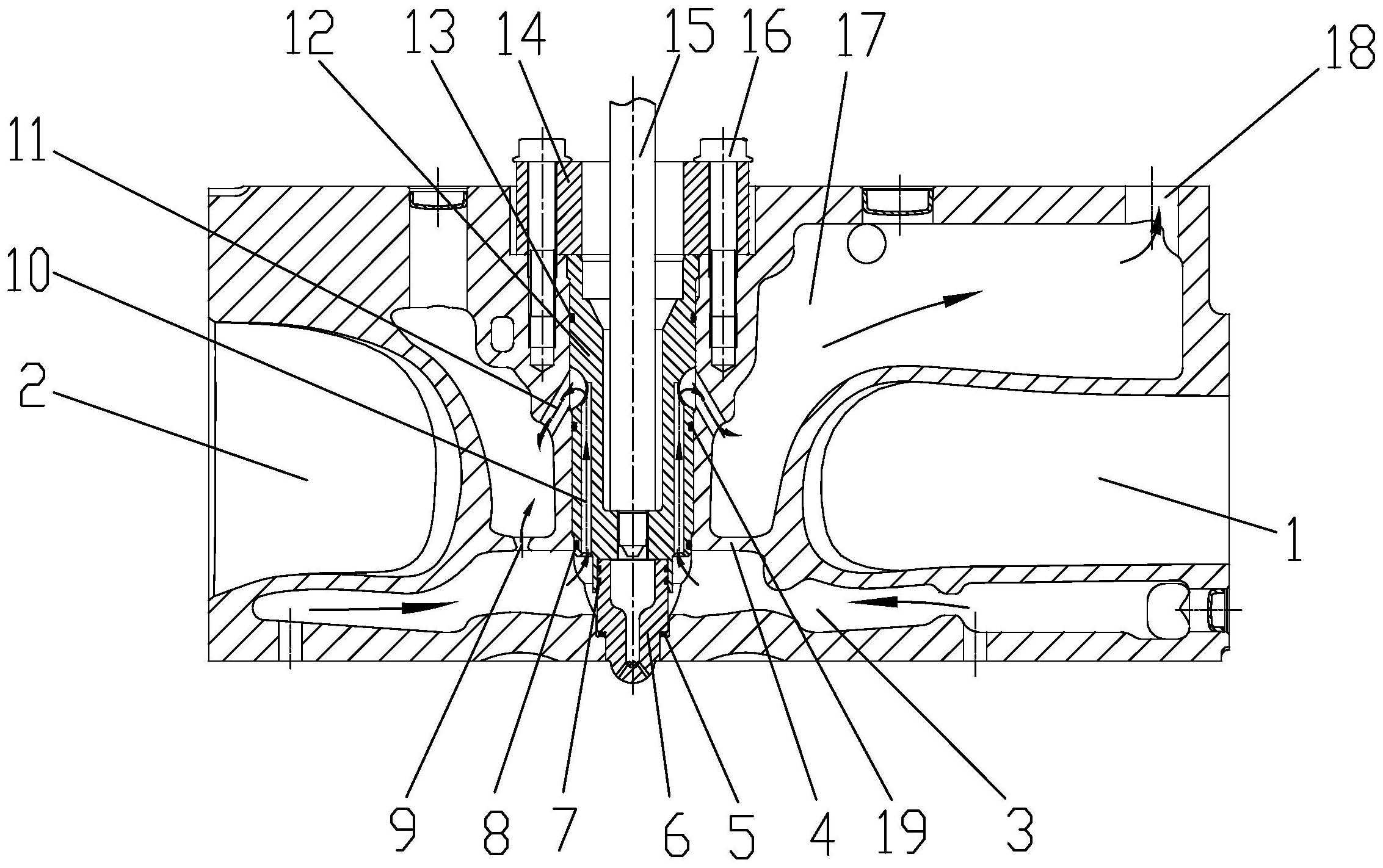
本发明属于发动机技术领域,涉及一种预燃室火花塞的气缸盖,包括缸盖本体,缸盖本体内分布进气道、排气道,缸盖本体的安装孔中设置火花塞套,缸盖本体上对应于火花塞套的底面设置预燃室;缸盖本体内形成冷却水腔,隔板将冷却水腔分为上水腔和下水腔,预燃室伸入下水腔中,火花塞套上设有第五水孔,缸盖本体上设有连通上水腔的第六水孔,第五水孔上端连通第六水孔,第五水孔下端连通下水腔。该气缸盖优化了气缸盖水道的流场,使用了预燃室火花塞的结构,增加了火花塞、预燃室的冷却水的通道,解决了气缸盖火花塞冷却不充分的问题,以提高火花塞的使用寿命,降低了发动机的使用成本。


