授权公布号:CN215092033U
一种稳固性强的电脑锣机刀具固定组
有效
申请
2021-01-09
申请公布
1970-01-01
授权
2021-12-10
预估到期
2031-01-09
| 申请号 | CN202120050366.5 |
| 申请日 | 2021-01-09 |
| 授权公布号 | CN215092033U |
| 授权公告日 | 2021-12-10 |
| 分类号 | B23Q3/00 |
| 分类 | 机床;不包含在其他类目中的金属加工; |
| 申请人名称 | 乐客精密工具(太仓)有限公司 |
| 申请人地址 | 江苏省苏州市太仓市经济开发区发达路27号 |
专利法律状态
2021-12-10
授权
状态信息
授权
摘要
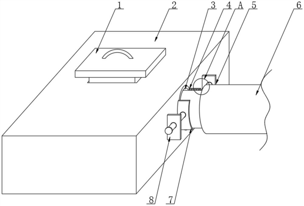
本实用新型涉及电脑锣机技术领域,公开了一种稳固性强的电脑锣机刀具固定组,所述固定座的一侧开设有插槽,所述插槽的内部嵌入安装有刀具,所述固定座的一侧从前到后分别设置有第二固定板和第一固定板,所述第二固定板的内部转动安装有第二转动件,所述第二转动件的末端转动安装有第二限位件,所述第一固定板的内部转动安装有第一转动件,所述第一转动件的末端转动连接有第一限位件,所述固定座的上表面设置有提拉件。本实用新型利用弹簧的作用,可将插入后的刀具通过限位板对其进行限位固定;通过第一限位件与第二限位件的移动可将插入到插槽内部的刀具再次进行固定,从而增加刀具安装的稳定性。


