授权公布号:CN217858954U
钻夹头用改善套筒跳动的结构及具有该结构的钻夹头
有效
申请
2022-08-12
申请公布
1970-01-01
授权
2022-11-22
预估到期
2032-08-12
| 申请号 | CN202222118374.6 |
| 申请日 | 2022-08-12 |
| 授权公布号 | CN217858954U |
| 授权公告日 | 2022-11-22 |
| 分类号 | B23B51/12 |
| 分类 | 机床;不包含在其他类目中的金属加工; |
| 申请人名称 | 山东威达机械股份有限公司 |
| 申请人地址 | 山东省威海市临港区苘山镇中韩路2号 |
专利法律状态
2022-11-22
授权
状态信息
授权
摘要
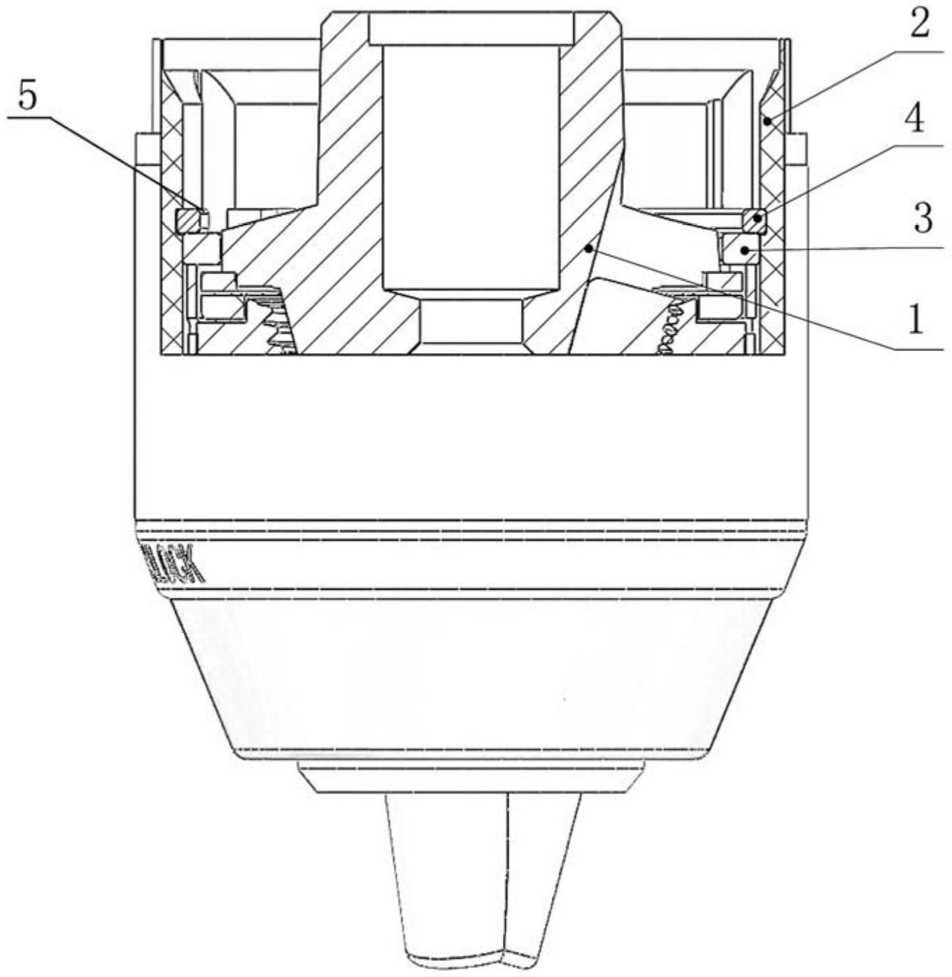
本实用新型公开了一种钻夹头用改善套筒跳动的结构及具有该结构的钻夹头,其属于机械加工工具技术领域;本实用新型设置在钻夹头的钻体与套筒之间,其设有衬环,套筒内设有对衬环进行轴向定位的轴向定位部,在轴向方向,衬环设置在钻夹头的丝母上端;在径向方向,衬环的外周与套筒接触连接且为紧配合方式,衬环的内周与钻体直径最大处配合连接。本实用新型通过设置衬环,提高了套筒圆度,通过对套筒有效的定位,减小产品套筒的跳动值,增加了产品装机后转动美感。


