授权公布号:CN218218374U
一种甘蔗收获机割台箱
有效
申请
2022-08-09
申请公布
1970-01-01
授权
2023-01-06
预估到期
2032-08-09
| 申请号 | CN202222091762.X |
| 申请日 | 2022-08-09 |
| 授权公布号 | CN218218374U |
| 授权公告日 | 2023-01-06 |
| 分类号 | A01D45/10;A01D75/18;A01D69/06 |
| 分类 | 农业;林业;畜牧业;狩猎;诱捕;捕鱼; |
| 申请人名称 | 秦川机床工具集团股份公司 |
| 申请人地址 | 陕西省宝鸡市姜谭路22号 |
专利法律状态
2023-01-06
授权
状态信息
授权
摘要
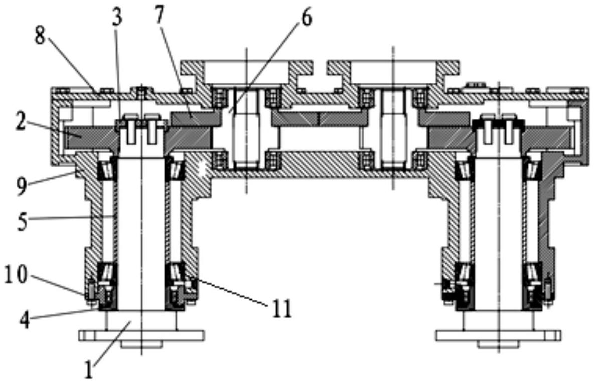
本实用新型公开了一种甘蔗收获机割台箱,包括箱体,所述箱体上固定安装有箱盖,所述箱体内对称设置有一组动力输入机构和动力输出机构;所述动力输入机构包括输入齿轮轴,所述输入齿轮轴上安装有同步齿轮;所述动力输出机构包括:与刀盘相连接的输出轴,所述输出轴顶部安装有输出齿轮,所述输入齿轮轴与所述输出齿轮相啮合,通过设置双动力输入和输出,使得割台箱的动力来自两台液压马达,同时两个输出轴需要有同步结构,并且还能够保证两割刀盘上的割刀不会干涉,进而能够大大提高收割工作的效率另外,本实用新型甘蔗收获机割台箱结构中,轴承数量少,整机重量轻。同步齿轮与输入齿轮轴过盈连接,可以在超载情况下对内部齿轮进行保护。


