授权公布号:CN207209930U
一种数控液体灌装机
有效
申请
2017-06-05
申请公布
1970-01-01
授权
2018-04-10
预估到期
2027-06-05
| 申请号 | CN201720642692.9 |
| 申请日 | 2017-06-05 |
| 授权公布号 | CN207209930U |
| 授权公告日 | 2018-04-10 |
| 分类号 | B67C3/26;B67C3/22 |
| 分类 | 开启或封闭瓶子、罐或类似的容器;液体的贮运; |
| 申请人名称 | 山东禹王制药有限公司 |
| 申请人地址 | 山东省德州市禹城市通衢路2731号 |
专利法律状态
2018-06-29
专利申请权、专利权的转移
状态信息
专利权的转移;IPC(主分类):B67C3/26;专利号:ZL2017206426929;登记生效日:20180608;变更事项:专利权人;变更前权利人:天津禹王生物医药科技有限公司;变更后权利人:山东禹王制药有限公司;变更事项:地址;变更前权利人:300000 天津市滨海新区经济技术开发区洞庭路220号天津国际生物医药联合研究院实验楼十四层S1403;变更后权利人:251200 山东省德州市禹城市通衢路2731号
2018-04-10
实用新型专利权授予
状态信息
授权
摘要
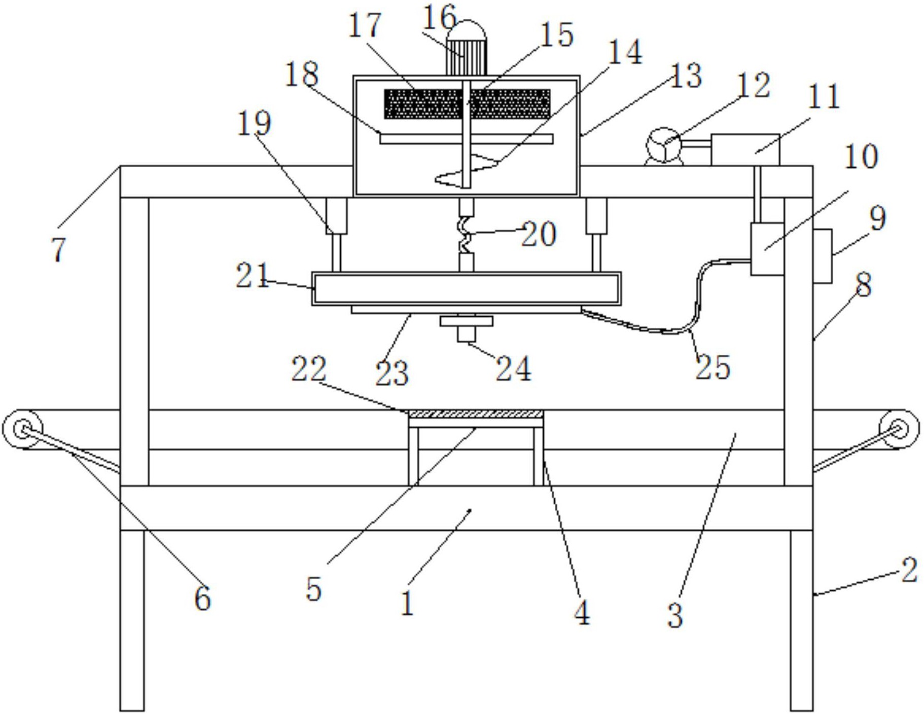
本实用新型公开了一种数控液体灌装机,包括支撑平台,所述支撑平台上方设有安装板,安装板下端两侧通过支撑柱与支撑平台固定连接,所述安装板上端中间位置钳设有搅拌箱,搅拌箱上端面中间位置设有搅拌电机,搅拌电机的输出端设有搅拌轴,搅拌轴上设有除泡网,除泡网下侧的搅拌轴上设有搅拌杆,搅拌杆下侧的搅拌轴上设有螺旋叶片,所述搅拌箱下端的出水口通过导液软管连接缓存箱上端的进液口,缓存箱上端两侧和安装板之间设有液压伸缩杆,液所述缓存箱下端中间位置设有出液管和位于出液管处的节流阀,本实用新型结构简单、合理,有效的提高了灌装效率,为灌装营造了一个安全卫生的环境,有助于保证灌装质量,实用性强。


