授权公布号:CN217169710U
一种双轴单气缸热切刀
有效
申请
2021-12-27
申请公布
1970-01-01
授权
2022-08-12
预估到期
2031-12-27
| 申请号 | CN202123306227.3 |
| 申请日 | 2021-12-27 |
| 授权公布号 | CN217169710U |
| 授权公告日 | 2022-08-12 |
| 分类号 | B29C49/42 |
| 分类 | 塑料的加工;一般处于塑性状态物质的加工; |
| 申请人名称 | 山东通佳智能装备有限公司 |
| 申请人地址 | 山东省济宁市高新区黄金大道16号 |
专利法律状态
2022-08-12
授权
状态信息
授权
摘要
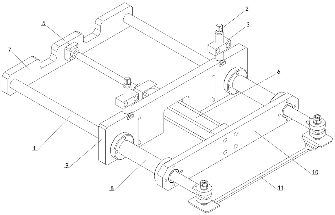
一种双轴单气缸热切刀,包括固定板和气缸载板,固定板和气缸载板之间设置有两个连接套,两个连接套的两端分别与固定板和气缸载板的左右两端相连;两个连接套内部均以可移动方式设置有导杆,两个导杆的一端连接有活动板,两个导杆的另一端连接有刀片;还包括气缸,气缸的一端固定在气缸载板的中部,气缸的另一端与活动板的中部相连;优化了新的运行机构,采用单一气缸中间位置固定,保证动力源稳定且在中心位置,双导杆连接使整体的运行更加的稳定,方向不易偏差,开合过程稳定高效快速,长时间运行也不会出现卡死等情况;刀片通电加热可长时间使用不变形,大大降低了成本。


