授权公布号:CN219543236U
机器人关节及机器人
有效
申请
2023-01-03
申请公布
1970-01-01
授权
2023-08-18
预估到期
2033-01-03
| 申请号 | CN202320006096.7 |
| 申请日 | 2023-01-03 |
| 授权公布号 | CN219543236U |
| 授权公告日 | 2023-08-18 |
| 分类号 | B25J17/02 |
| 分类 | 手动工具;轻便机动工具;手动器械的手柄;车间设备;机械手; |
| 申请人名称 | 库卡机器人制造(上海)有限公司 |
| 申请人地址 | 上海市松江区小昆山镇昆港公路889号7幢、8幢、9幢、10幢、11幢 |
专利法律状态
2023-08-18
授权
状态信息
授权
摘要
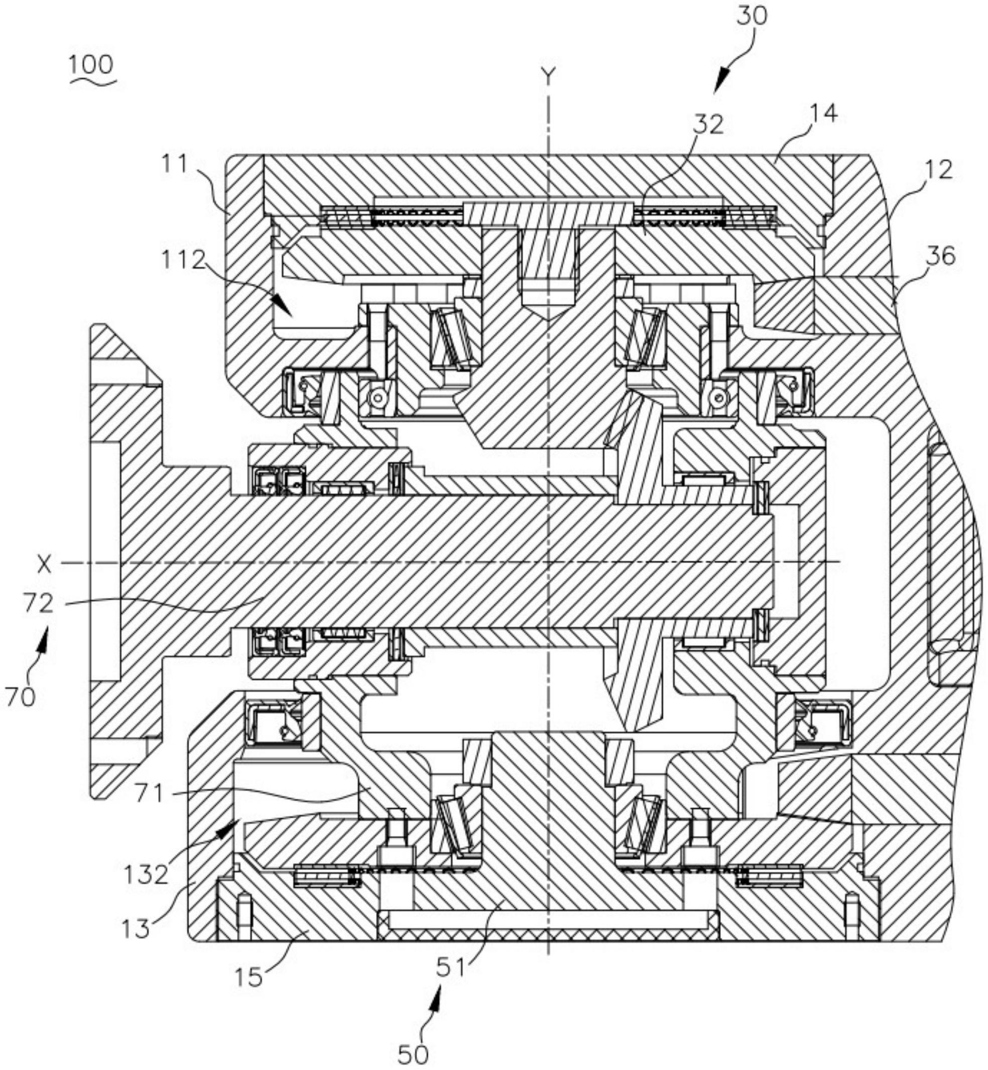
本申请涉及机器人技术领域,特别涉及一种机器人关节及机器人。机器人关节包括第一壳体、第一传动模组、第二传动模组以及输出模组。第一壳体包括相对间隔设置的第一安装部以及第二安装部。第一传动模组可转动地连接于第一安装部;第二传动模组可转动地连接于第二安装部;输出模组设置于第一安装部和第二安装部之间。输出模组包括第二壳体以及输出轴,第二壳体可转动地设置于第一安装部和第二安装部之间;输出轴可转动地设置于第二壳体并传动连接于第一传动模组;第二壳体传动连接于第二传动模组,第一轴线和第二轴线相交。上述机器人关节模块化程度高,安装便捷,对传动精度影响较小。


